EasyManua.ls Logo

Mec 4069RT - Hydraulic Reservoir

Mec 4069RT
256 pages
Print Icon
To Next Page IconTo Next Page
To Next Page IconTo Next Page
To Previous Page IconTo Previous Page
To Previous Page IconTo Previous Page
Loading...
March 2014
Page E-8
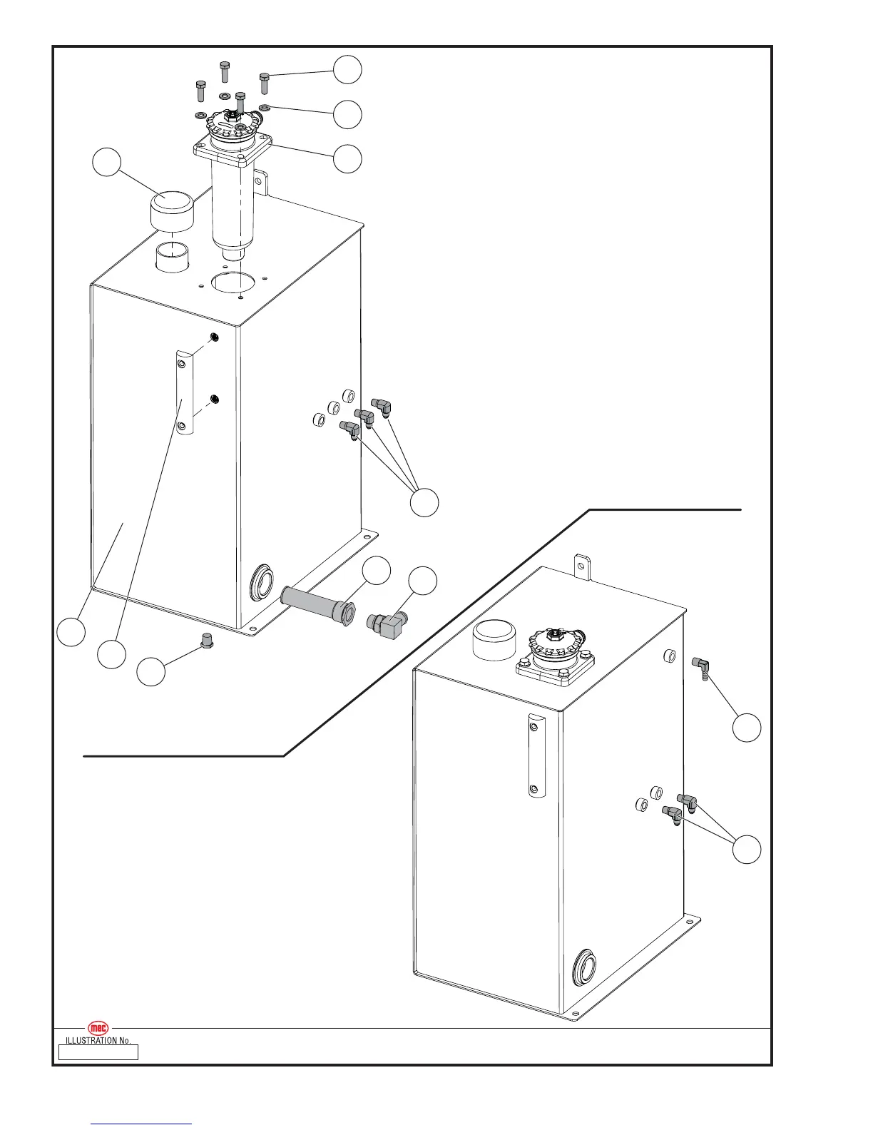
“4069RT” Parts Section
ART_4477
Hydraulic Reservoir4069
Later Machines
Early Machines
5
6
7
4
11
8
2
1
3
9
10
8

Table of Contents

Other manuals for Mec 4069RT

Related product manuals