EasyManua.ls Logo

Nace CP 1 - Demonstrate Change in Polarized Potential with Time; Experiment to Demonstrate Change in Polarized Potential with Time

Default Icon
535 pages
Print Icon
To Next Page IconTo Next Page
To Next Page IconTo Next Page
To Previous Page IconTo Previous Page
To Previous Page IconTo Previous Page
Loading...
Underground Corrosion Control 3:38
CP 1 – Cathodic Protection Tester Course Manual
© NACE International, 2000
02/01/05
Experiment 3.2 Demonstrate Change in Polarized Potential
with Time
NOTE: Instructor will demonstrate this experiment.
PROCEDURE
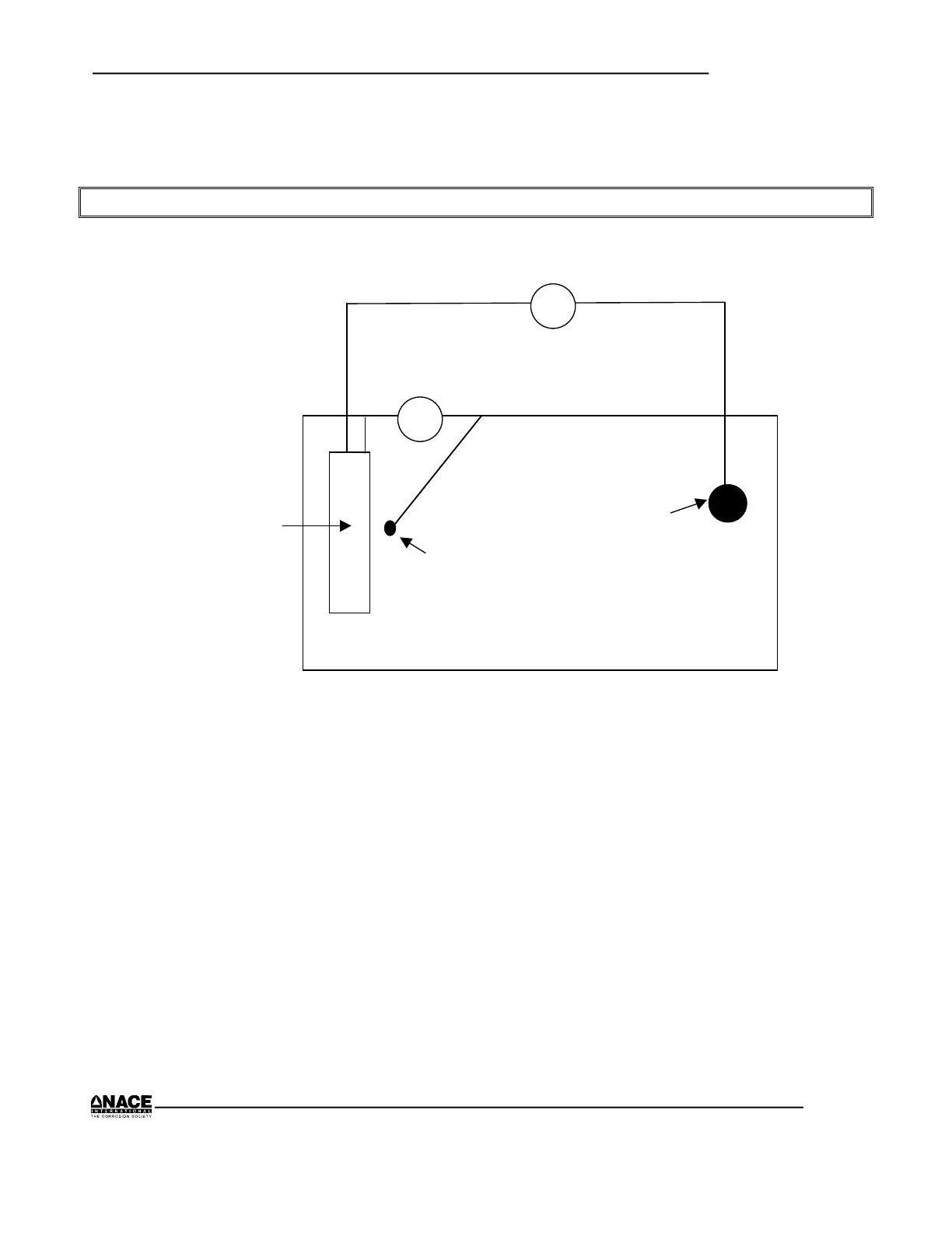
Reference Electrode
Magnesium Anode
V
A
+
Copper Sheet
Tray with Tap Water
Experiment to Demonstrate Change in Polarized Potential with Time
Part A
1. Place copper sheet in one end of tray and magnesium anode in opposite end.
2. Add 1-1/2 inches of tap water to the tray.
3. Connect anode to copper sheet as shown and measure initial cathodic protection current
and polarized potential of the structure. (A second meter from another kit can be used to
obtain current flow (amperes) or a single meter can be relocated to obtain the
information.)
Part B
1. Re-measure the polarized potential of the structure at intervals until relatively stable.
Part C
1. Leave overnight.
2. Measure pH.
3. Disconnect anode and take depolarized readings.

Table of Contents