EasyManua.ls Logo

Omron CP1H CPU - Page 731

Omron CP1H CPU
788 pages
Print Icon
To Next Page IconTo Next Page
To Next Page IconTo Next Page
To Previous Page IconTo Previous Page
To Previous Page IconTo Previous Page
Loading...
697
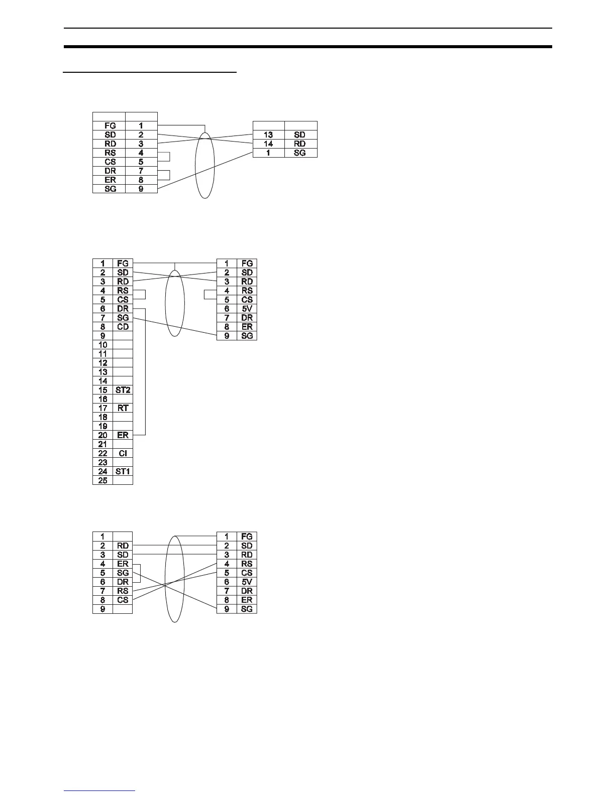
Connections to Serial Communications Option Boards Appendix F
Connecting RS-232C Ports 1:1
Connections to E5CK Controller
Connections to a Host Computer
Connections to a Personal Computer with RTS-CTS Flow Control
CPU Unit
RS-232C Option Board
RS-232C
Shield
OMRON E5CK Controller
RS-232C: Terminal Block
Terminal
Signal Pin
Signal
D-sub, 9-pin
connector (male)
Computer
CPU Unit
RS232-C Option Board
D-sub, 9-pin
connector (male)
Computer
CPU Unit
RS-232C Option Board

Table of Contents

Related product manuals