EasyManua.ls Logo

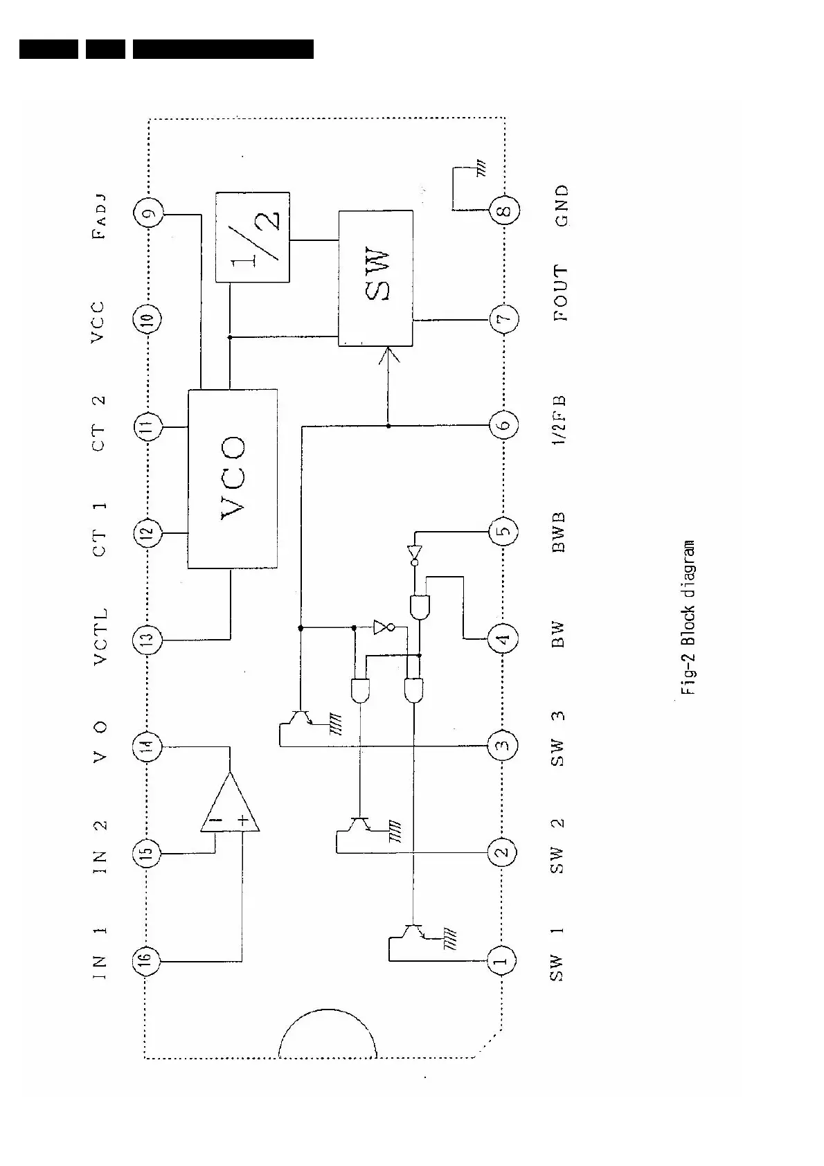
Philips DVDR75/001 - IC7604: BA7082 F, DVIO Board, PLL IC

Philips DVDR75/001
260 pages
Print Icon
To Next Page IconTo Next Page
To Next Page IconTo Next Page
To Previous Page IconTo Previous Page
To Previous Page IconTo Previous Page
Loading...
Circuit-, IC descriptions and list of abbreviations
EN 236 DVDR70 & DVDR75/0x19.
IC7604: BA7082F, DVIO Board, PLL IC

Table of Contents

Related product manuals