EasyManua.ls Logo

Philips DVDR75/001 - 9.12.3 IC’s Digital Board 1.5; IC7100: VSM Digital Board 1.5, Versatile Stream Manager

Philips DVDR75/001
260 pages
Print Icon
To Next Page IconTo Next Page
To Next Page IconTo Next Page
To Previous Page IconTo Previous Page
To Previous Page IconTo Previous Page
Loading...
Circuit-, IC descriptions and list of abbreviations
EN 203DVDR70 & DVDR75/0x1 9.
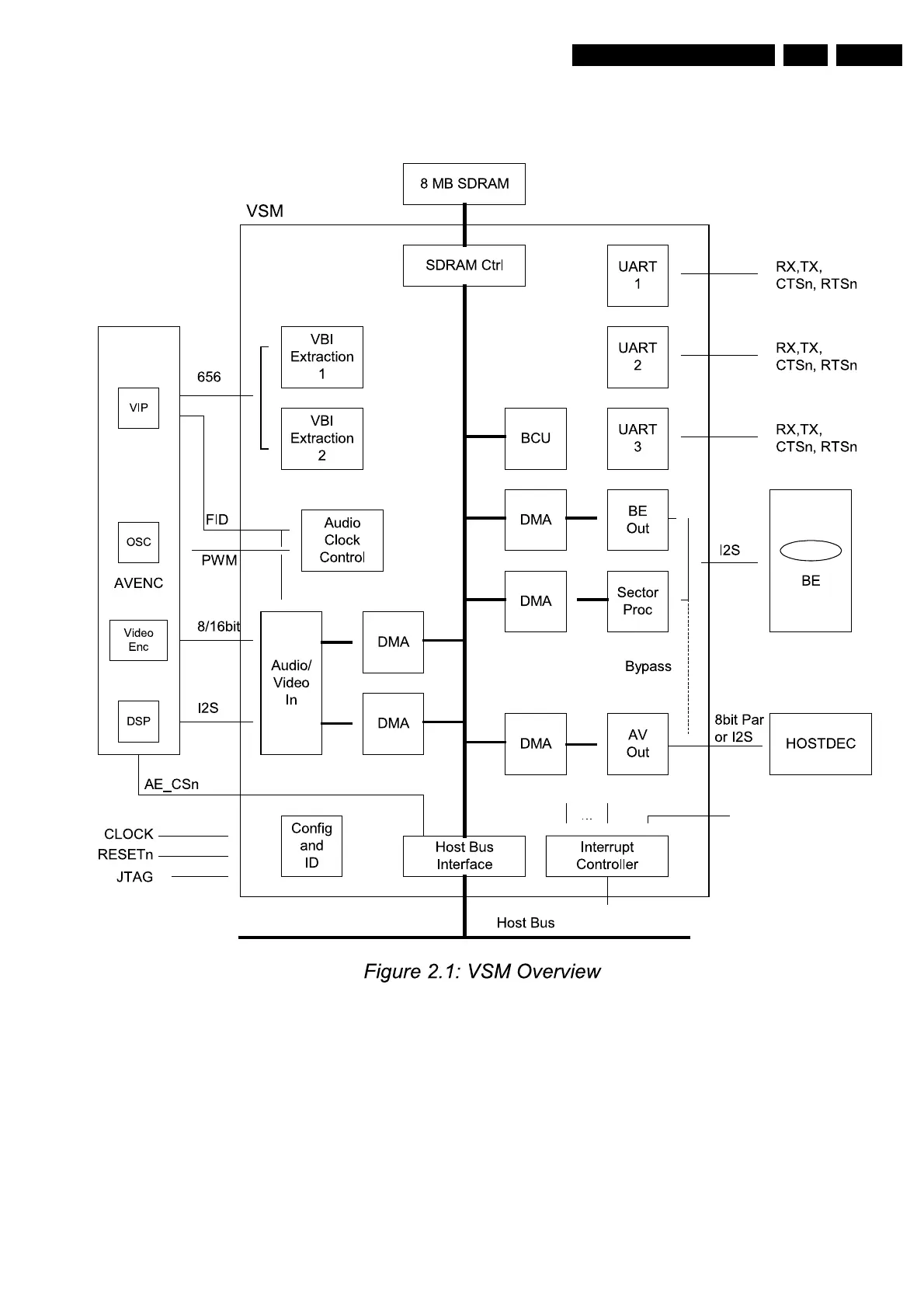
9.12.3IC’s Digital Board 1.5
IC7100: VSM Digital Board 1.5, Versatile Stream Manager

Table of Contents

Related product manuals