EasyManua.ls Logo

PIAGGIO MSS X9 EVOLUTION 250 - Immobiliser

PIAGGIO MSS X9 EVOLUTION 250
262 pages
Print Icon
To Next Page IconTo Next Page
To Next Page IconTo Next Page
To Previous Page IconTo Previous Page
To Previous Page IconTo Previous Page
Loading...
Specification Desc./Quantity
10 Fuse 15 A
Checks and inspections
Immobiliser
The electric ignition system is fed with direct cur-
rent and is protected by an antitheft immobilizer
integrated to the control unit.
The ignition system consists of:
- electronic control unit
- immobilizer aerial
- master and service keys with built-in transponder
- HV coil
- diagnosis LED
-The diagnostic LED also works as a deterring
blinker. This function is activated every time the
key switch is turned to "OFF" and it remains active
48 hours so as not to damage the battery charging
process.
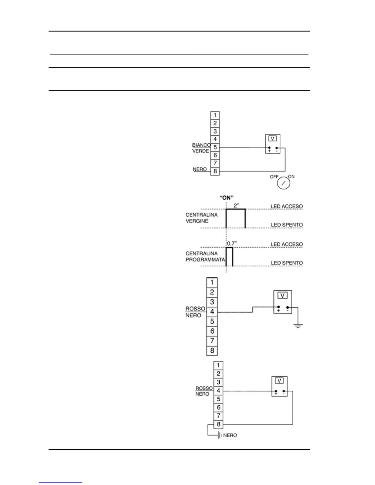
When the key switch is turned to "ON", this blinking
function is deactivated. A flash then confirms the
system has switched to "ON".
The duration of the flash depends on the electronic
control unit program (see figure).
If the led turns off and remains so when switching
to "ON", it is necessary to check if there is battery
voltage in the electric control unit.
Connect the immobilizer tester to the diagnosis
socket (see ET4 125 manual) located below the
spark plug inspection port.
If the serial LED remains off, proceed to check the
control unit supply as follows:
- Disconnect the control unit connector and check
if:
- There is battery voltage between terminal No. 4
(Red/Black) and the ground lead.
Electrical system MSS X9 Evolution 250
ELE SYS - 60

Table of Contents

Related product manuals