EasyManua.ls Logo

SBM SB-3000 - Page 161

SBM SB-3000
253 pages
Print Icon
To Next Page IconTo Next Page
To Next Page IconTo Next Page
To Previous Page IconTo Previous Page
To Previous Page IconTo Previous Page
Loading...
161
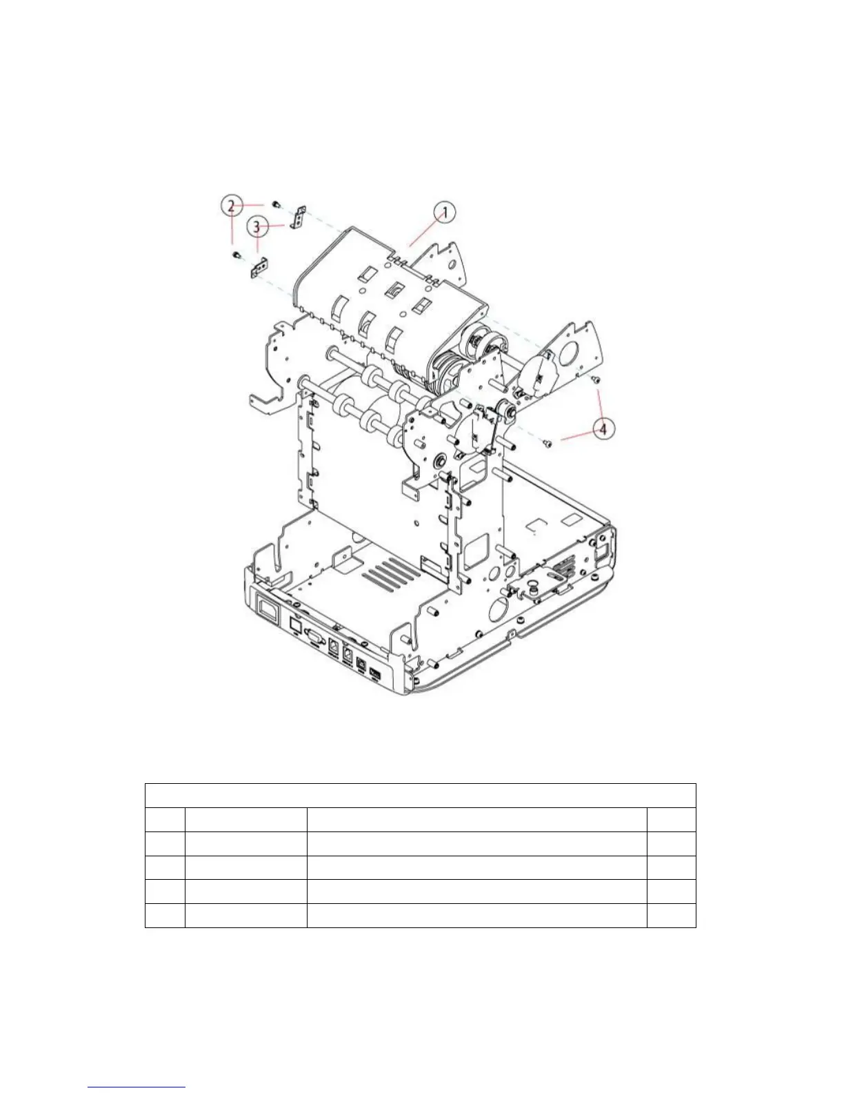
15. TRANSFER A BOTTOM ASSY
TRANSFER A BOTTOM ASSY
NO.
CODE PART NAME Q`TY
1 1A10X1187A ASS'Y_TRANSFER_A_BOTTOM 1
2 8400E021XA SCREW_M/C_PH/SWW_M3X6_Fe_Zy 2
3 741012400A BKT_GUIDE_TRANS_BOTTOM 2
4 8400E034XA SCREW_T/P_PH_T2_Ø3X8_Fe_Zy 2

Table of Contents