EasyManua.ls Logo

SciCan Statim 5000 - Page 208

SciCan Statim 5000
271 pages
Print Icon
To Next Page IconTo Next Page
To Next Page IconTo Next Page
To Previous Page IconTo Previous Page
To Previous Page IconTo Previous Page
Loading...
Page 208
STAT
IM
2000/2000S Service Guide
96-106775 Rev 5.0
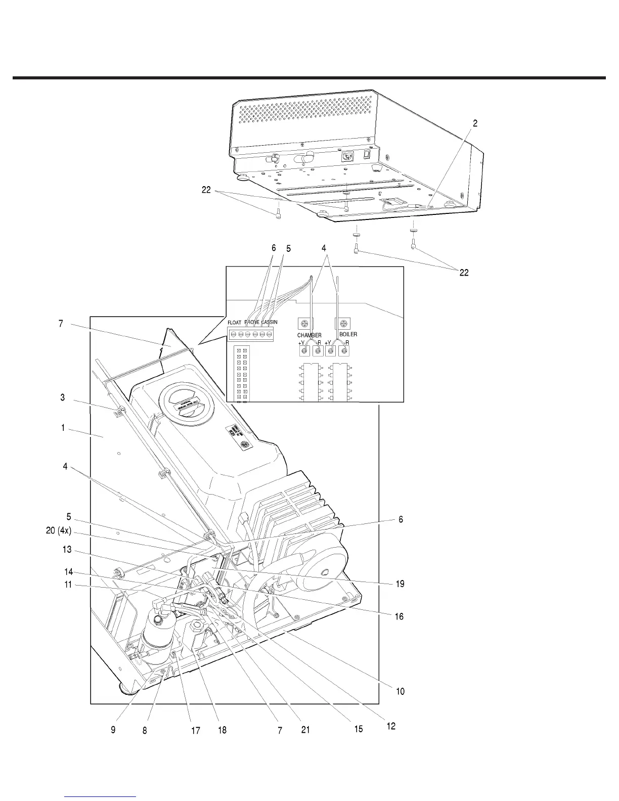
10. Armature, Isoplate, and Probe Bracket and Chamber Thermocouple
1. armature
2. drain tube
3. cable ties
4. thermocouple leads
5. microswitch leads
6. reservoir sensor leads
7. controller board
8. screws
9. steam generator bracket
10. chassis
11. compression nut
12. steam generator outlet tube
13. inlet probe fitting
14. compression nut
15. solenoid valve inlet tube
16. outlet probe fitting
17. screws
18. solenoid valve bracket
assembly
19. probe bracket assembly
20. cap screws with washers
21. ground strap
22. cap screws with spring
lockwashers
23. Bubble level (not shown)
Figure 1
STATIM 5000/5000S/5000 G4 Service Guide

Table of Contents

Other manuals for SciCan Statim 5000

Related product manuals