EasyManua.ls Logo

SICK DUSTHUNTER T50

SICK DUSTHUNTER T50
261 pages
To Next Page IconTo Next Page
To Next Page IconTo Next Page
To Previous Page IconTo Previous Page
To Previous Page IconTo Previous Page
Loading...
7 Maintenance
63
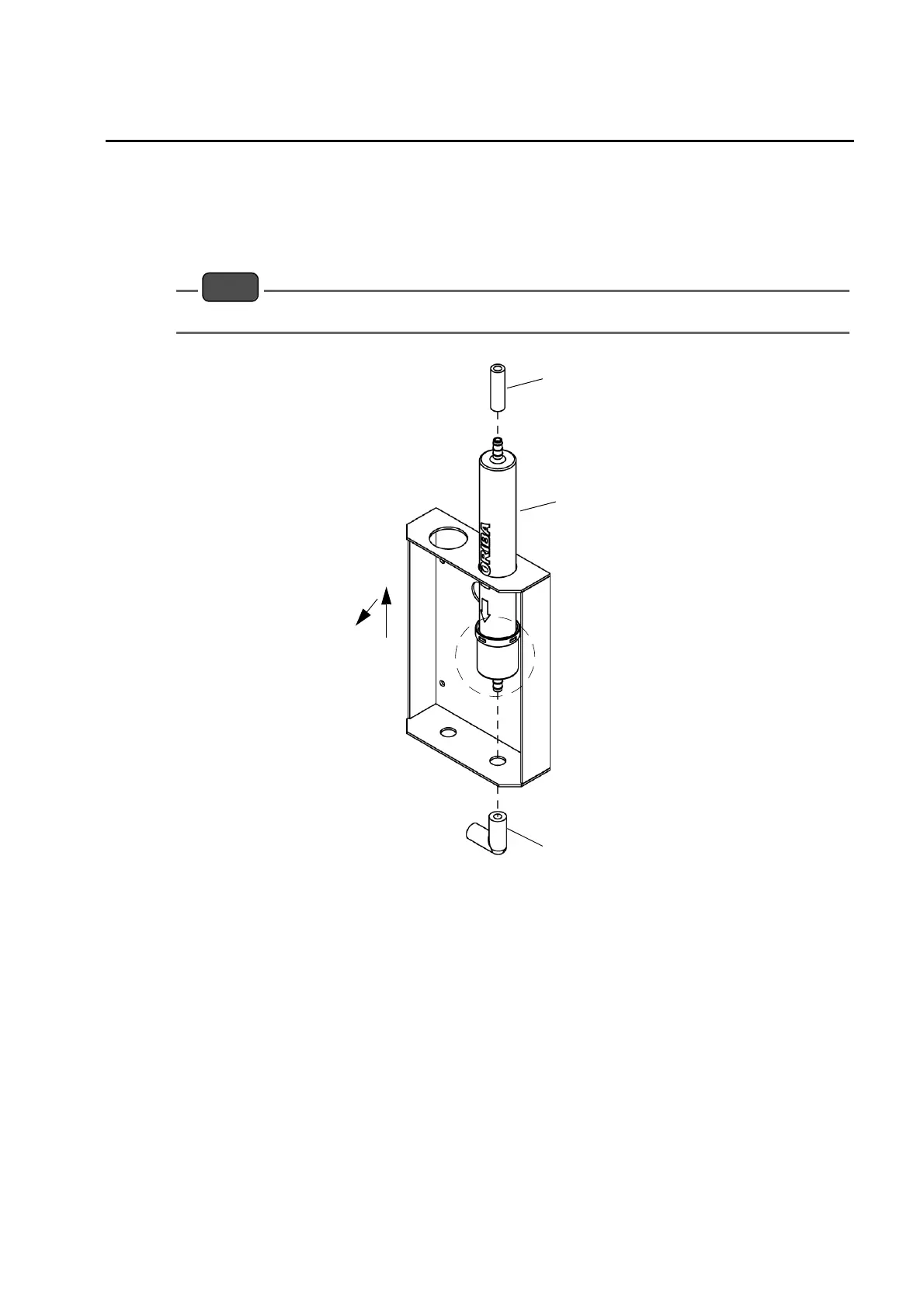
7.3.3 Replacing the scrubber
1. Turn OFF the pump 1 and pump 2 switches.
2. Disconnect the connected joint.
3. Pull up the scrubber a little and pull off to the front.
4. Replace the scrubber and assemble it by the reversed procedure.
Note
Attach the scrubber with the correct orientation so that the arrow mark faces downward.
Fig. 55 Replacing the scrubber
Joint
Scrubber
(9057003400)
Joint
Pull off

Table of Contents

Related product manuals