EasyManua.ls Logo

Sony SLV-286EE - Page 57

Sony SLV-286EE
112 pages
Print Icon
To Next Page IconTo Next Page
To Next Page IconTo Next Page
To Previous Page IconTo Previous Page
To Previous Page IconTo Previous Page
Loading...
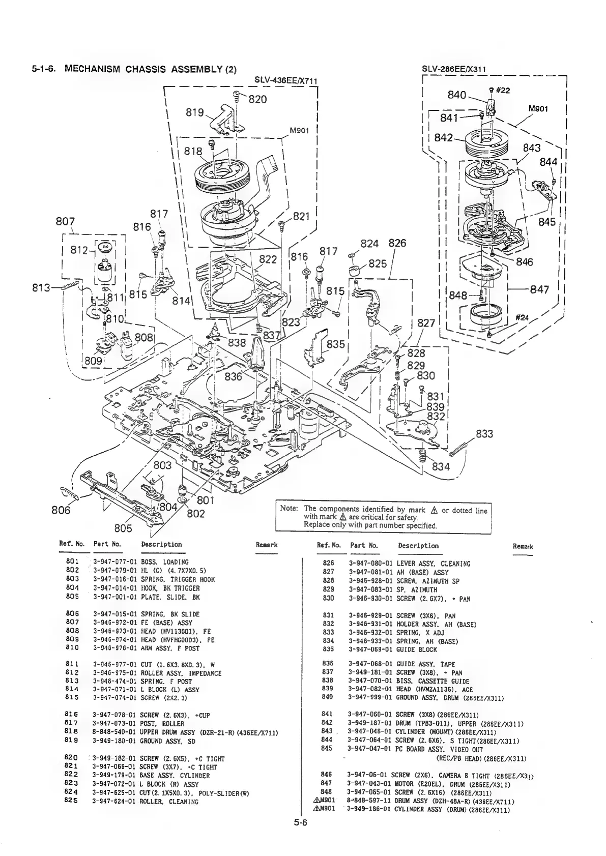
5-1-6.
MECHANISM
CHASSIS
ASSEMBLY
(2)
a
PSSEEMS
Note:
The
components
identified
by
mark
A\
or
dotted
line
with
mark
A\
are
critical
for
safety.
Replace
only
with
part
number
specified.
Ref.
No.
Part
No.
Description
Remark
Ref.No.
Part
No.
Description
Remark
801
3-947-077-01
BOSS,
LOADING
826
3-947-080-01
LEVER
ASSY,
CLEANING
802
3-947-079-01
HL
(C)
(4.
7X7X0.
5)
827
3-947-081-01
AH
(BASE)
ASSY
803
3-947-016-01
SPRING,
TRIGGER
HOOK
828
3-946-928-01
SCREW,
AZIMUTH
SP
804
3-947-014-01
HOOK,
BK
TRIGGER
829
3-847-083-01
SP,
AZIMUTH
805
3-947-001-01
PLATE,
SLIDE,
BK
830
3-846-930-01
SCREW
(2.6X7),
+
PAN
806
3-947-015-01
SPRING,
BK
SLIDE
831
3-946-929-01
SCREW
(3X6),
PAN
807
3-946-972-01
FE
(BASE)
ASSY
832
3-946-931-01
HOLDER
ASSY.
AH
(BASE)
808
3-946-973-01
HEAD
(HV113001),
FE
833
3-946-932-01
SPRING.
X
ADJ
809
3-946-974-01
HEAD
(HVFHGOOO3),
FE
834
3-848-933-01
SPRING,
AH
(BASE)
810
3-946-976-01
ARM
ASSY,
F
POST
835
3-947-069-01
GUIDE
BLOCK
811
3-946-977-01
CUT
(1.
6X3.
8X0.
3),
¥
836
3-947-068-01
GUIDE
ASSY,
TAPE
812
3-946~975-01
ROLLER
ASSY,
IMPEDANCE
837
3-949-181-01
SCREW
(3X8),
+
PAN
813
3-948-474-01
SPRING.
F
POST
838
3~947-070-01
BISS,
CASSETTE
GUIDE
814
3-947-071-01
L
BLOCK
(L)
ASSY
839
3-947-082-01
HEAD
(HVMZA1136),
ACE
815
3+947-074-01
SCREW
(2x2.
3)
840
3-947-999-01
GROUND
ASSY,
DRUM
(286EE/K311)
816
3-947-078-01
SCREW
(2.
6X3),
+CUP
841
3-947-060-01
SCREW
(3X8)
(286EE/K311)
817
3-947-073-01
POST,
ROLLER
842
3-949-187-01
DRUM
(TPB3-011),
UPPER
(286EE/X311)
818
8-848-540-01
UPPER
DRUM
ASSY
(DZR-21-R)
(436EE/X711)
843
3-947-046-01
CYLINDER
(MOUNT)
(286EE/X311)
819
3-949-180-01
GROUND
ASSY.
SD
844
3-947-064-01
SCREW
(2.
6X6),
S$
TIGHT
(286EE/X311)
845
3-947-047-01
PC
BOARD
ASSY,
VIDEO
OUT
820
3-949-182-01
SCREW
(2.
6X5),
+C
TIGHT
:
(REC/PB
HEAD)
(286£E/X311)
821
3-947-066-01
SCREW
(3X7),
*C
TIGHT
822
3-949-179-01
BASE
ASSY,
CYLINDER
846
3-947-06-01
SCREW
(2X6),
CAMERA
B
TIGHT
(286EE/X3))
823
3-947-072-01
L
BLOCK
(R)
ASSY
847
3-$47-043-01
MOTOR
(E20EL),
DRUM
(286EE/X311)
824
3-947-625-01
CUT(2.
1XSX0.
3),
POLY-SLIDER(W)
848
=
3-947-065-01
SCREW
(2.
6X16)
(286EE/X311)
82S
3-947-624-01
ROLLER
CLEANING
AMS01
8848-597-11
DRUM
ASSY
(DZH-48A-R)
(436EE/X711)
4M901
3-949-186-01
CYLINDER
ASSY
(DRUM)
(286EE/X311)
5-6

Table of Contents

Related product manuals