EasyManua.ls Logo

Subaru 2002 Impreza - Page 6

Subaru 2002 Impreza
598 pages
Print Icon
To Next Page IconTo Next Page
To Next Page IconTo Next Page
To Previous Page IconTo Previous Page
To Previous Page IconTo Previous Page
Loading...
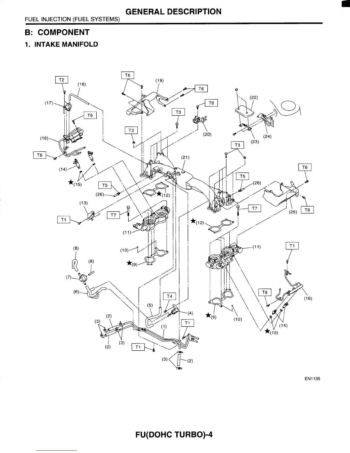
GENERAL DESCRIPTION
FUEL
INJECTION
(FUEL
SYSTEMS)
B: COMPONENT
1.
INTAKE MANIFOLD
EN1135
FU(D0HC TURBO)-4

Table of Contents

Related product manuals