EasyManua.ls Logo

vc999 K7 - Description of the Machine; Operating Principle

vc999 K7
121 pages
Print Icon
To Next Page IconTo Next Page
To Next Page IconTo Next Page
To Previous Page IconTo Previous Page
To Previous Page IconTo Previous Page
Loading...
Vacuum Packaging Machine VC999 K7
Description of the machine
2008-11-26 Art.-No. 592.016 Page 15/121
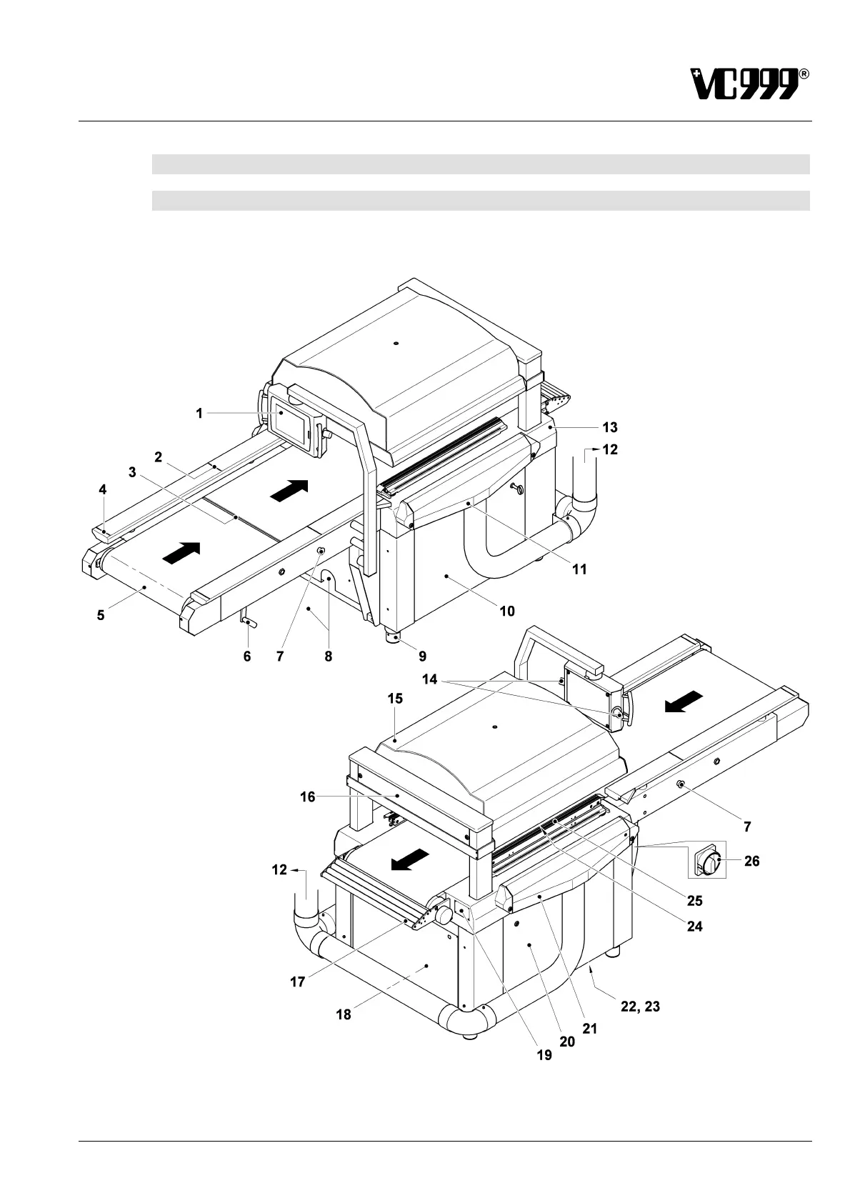
3 Description of the machine
3.1 Operating principle
This section describes how the Vacuum Packaging Machine is structured. This will assist you in identify-
ing and naming the individual parts and sub-assemblies.
Fig. 3/1

Table of Contents

Related product manuals