EasyManua.ls Logo

Amada MU-100A - Program Display after Power-On

Amada MU-100A
114 pages
Print Icon
To Next Page IconTo Next Page
To Next Page IconTo Next Page
To Previous Page IconTo Previous Page
To Previous Page IconTo Previous Page
Loading...
MU-100A
7. Program Display After Power-On
7-1
%*%*
$($(
#(#(
0(0(
$$
##
&&
00
%%
7. Program Display After Power-On
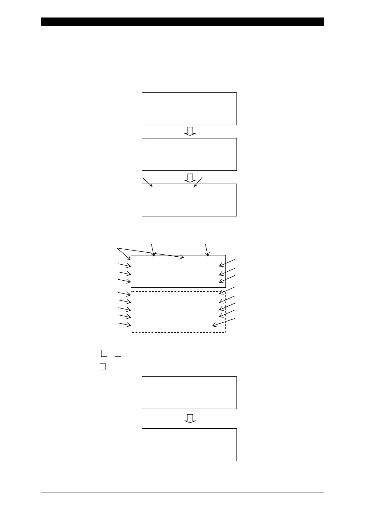
At power-on, version and initial check screens are displayed, followed by the normal screen.
[Version screen]
[Initial check screen]
[Normal screen]
Explanation of normal screen
With the MONITOR DISPLAY parameters, items set for monitor displays 11 to 13 and 21 to 23 are mainly
displayed. Press or key to display hidden monitor displays 14 to 18 and 24 to 28.
Example) Press key on the screen below to hide monitor displays 11 and 21 and display 14 and 24.
%*'%*
$($(
#(#(
0(0(
*'#&%10641..'4
/7#
8
%*'%-+0)
*'#&%10641..'4
/7#
8
%*%*
#(#(
0(0(
$$
%*%*
$($(
#(#(
0(0(
Monitor display 11
Monitor display 12
Monitor display 13
Monitor display 21
Monitor display 22
Monitor display 23
*: panel schedule selection
E: external schedule selection
1-axis schedule No. 2-axis schedule No.
Monitor display 14
Monitor display 15
Monitor display 16
Monitor display 24
Monitor display 25
Monitor display 26
Monitor display 27
Monitor display 28
Monitor display 17
Monitor display 18
1-axis
2-axis

Table of Contents

Related product manuals