EasyManua.ls Logo

BOC Edwards iH600 - Page 48

Default Icon
192 pages
Print Icon
To Next Page IconTo Next Page
To Next Page IconTo Next Page
To Previous Page IconTo Previous Page
To Previous Page IconTo Previous Page
Loading...
2-6 iH Dry Pumping System
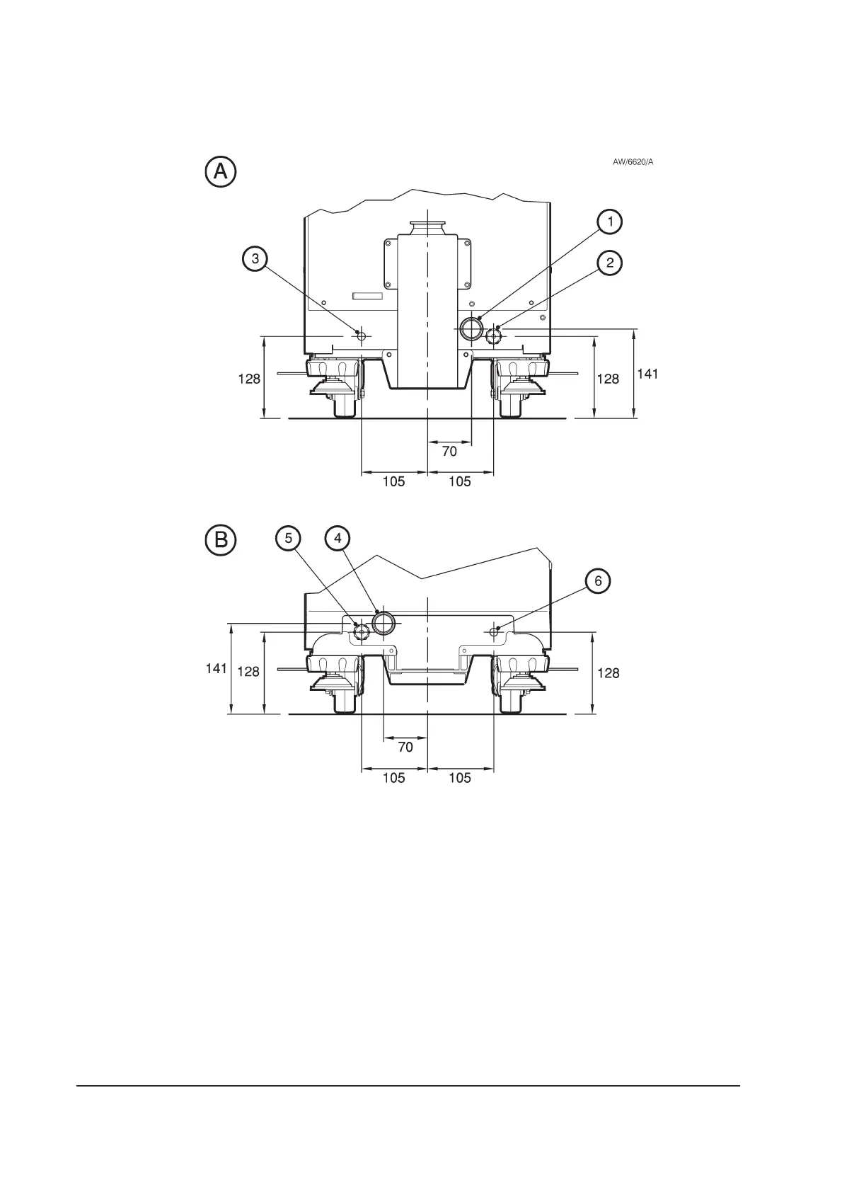
Figure 2-4 - Services connections dimensions (mm)
A As supplied
B Alternative positions
1. Cooling-water outlet (as supplied)
2. Cooling-water inlet (as supplied)
3. Nitrogen inlet (as supplied)
4. Cooling-water outlet (alternative position)
5. Cooling-water inlet (alternative position)
6. Nitrogen inlet (alternative position)

Table of Contents

Related product manuals