EasyManua.ls Logo

BOC Edwards iH600 - Centres of Mass Dimensions (MM) and Mass Distribution

Default Icon
192 pages
Print Icon
To Next Page IconTo Next Page
To Next Page IconTo Next Page
To Previous Page IconTo Previous Page
To Previous Page IconTo Previous Page
Loading...
2-8 iH Dry Pumping Systems
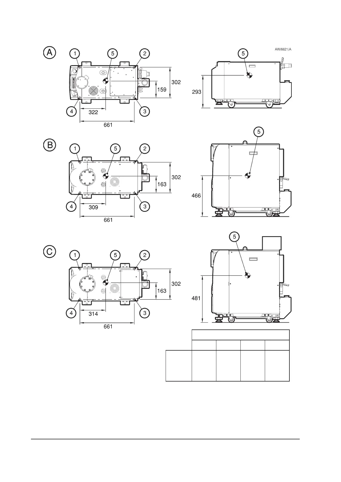
Figure 2-5 - Centres of mass dimensions (mm) and mass distribution
A iH80
B iH600
C iH1000
1. Levelling-foot
2. Levelling-foot
3. Levelling-foot
4. Levelling-foot
5. Centre of mass
Mass distribution on levelling-feet
1234
iH80 75 kg 66 kg 51 kg 48 kg
iH600 103 kg 119 kg 75 kg 118 kg
iH1000 118 kg 115 kg 90 kg 107 kg

Table of Contents

Related product manuals