EasyManua.ls Logo

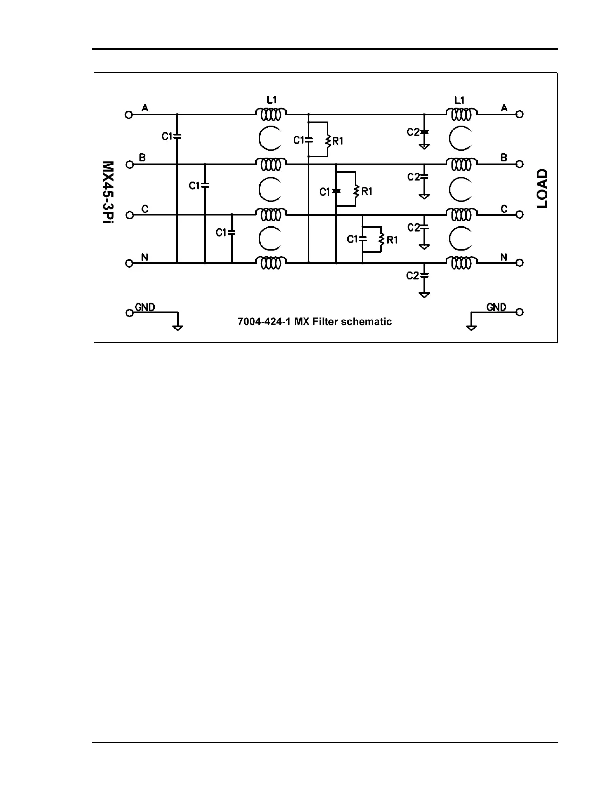
California Instruments MX30-1 - Figure 2-12: MX Output Filter Option Schematic

California Instruments MX30-1
246 pages
Print Icon
To Next Page IconTo Next Page
To Next Page IconTo Next Page
To Previous Page IconTo Previous Page
To Previous Page IconTo Previous Page
Loading...
User Manual – Rev AJ California Instruments
MX Series 33
ilter option schematic Figure 2-12: MX output f

Table of Contents

Related product manuals