EasyManua.ls Logo

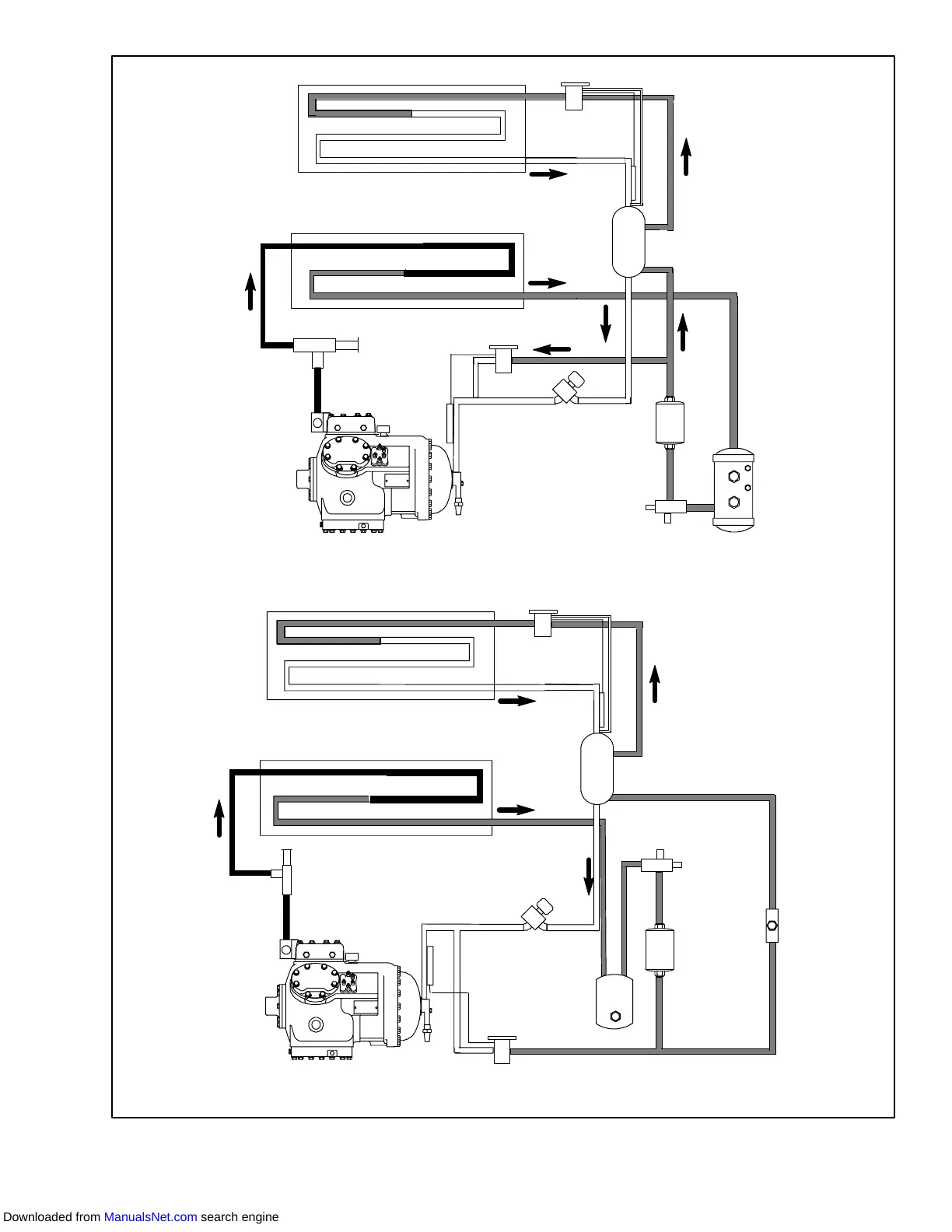
Carrier 69NT40-511-310 - Figure 2-7 Refrigeration Circuit Schematic

Carrier 69NT40-511-310
116 pages
Print Icon
To Next Page IconTo Next Page
To Next Page IconTo Next Page
To Previous Page IconTo Previous Page
To Previous Page IconTo Previous Page
Loading...
T -296
2-11
FILTER DRIER
TXV
TXV BULB
MODULATING VALVE
PRESSURE
TRANSDUCER
HEAT EXCHANGER
SIGHT GLASS
FILTER DRIER
HEAT EXCHANGER
MODULATING VALVE
PRESSURE
TRANSDUCER
SIGHT GLASS
FUSIBLE PLUG
RECEIVER
SERVICE VALVE
WATER-COOLED
CONDENSER
PRESSURE REGULATOR
TXV
TXV BULB
EVAPORATOR
CONDENSER
PRESSURE TRANSDUCER
SERVICE VALVE
PRESSURE REGULATOR
EVAPORATOR
CONDENSER
SERVICE VALVE
SERVICE VALVE
Circuit with Receiver
Circuit with Water Cooled Condenser
QUENCH VALVE
QUENCH VALVE
Figure 2-7 Refrigeration Circuit Schematic
Downloaded from ManualsNet.com search engine

Table of Contents

Related product manuals