EasyManua.ls Logo

Cedar Summit F25720 - Page 55

Cedar Summit F25720
108 pages
Print Icon
To Next Page IconTo Next Page
To Next Page IconTo Next Page
To Previous Page IconTo Previous Page
To Previous Page IconTo Previous Page
Loading...
Step 20: Lower Crowsnest Assembly
Part 2
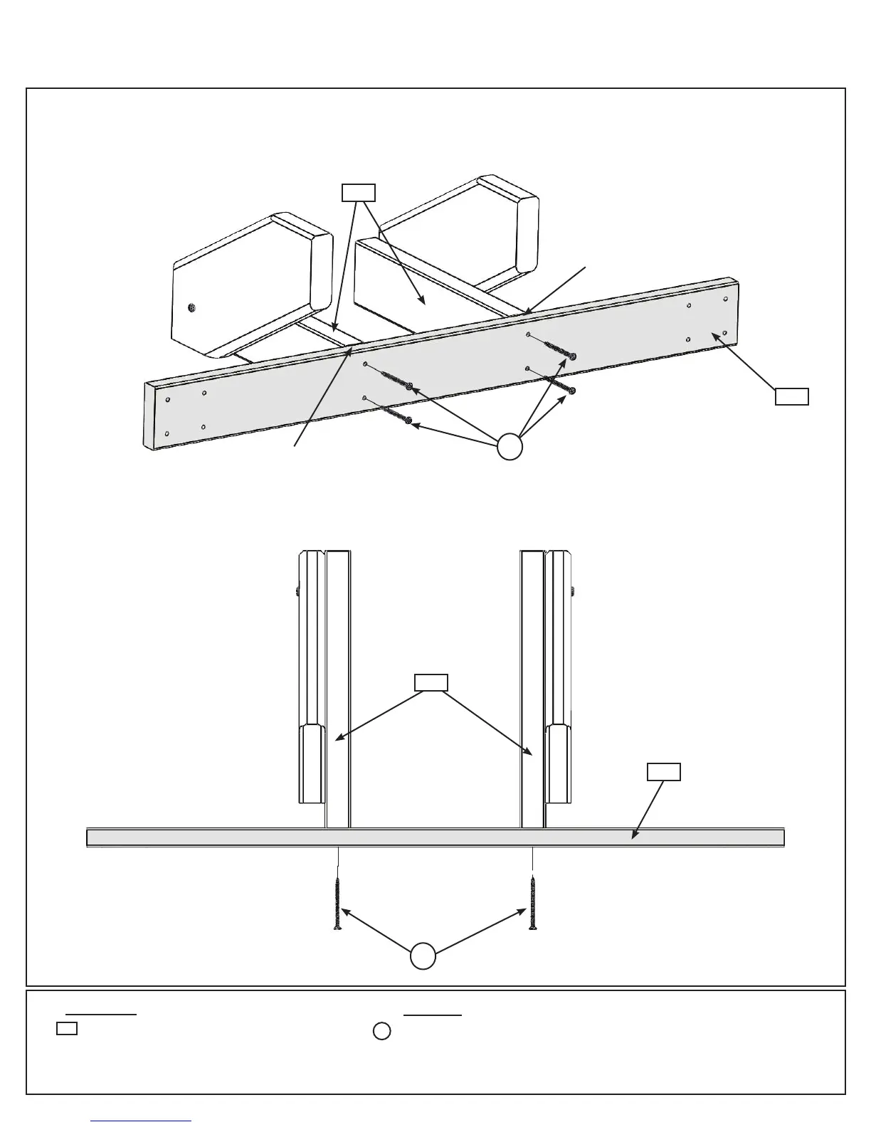
B: Place (202) Crowsnest Back against the ends of (201) Crowsnest Joists so the tops are ush then attach with
4 (S3) #8 x 2-1/2” Wood Screws. (g. 20.4 and 20.5)
1 x Crowsnest Back 5/4 x 4 x 34”
202
Wood Parts
Hardware
4 x #8 x 2-1/2” Wood Screw
S3
Fig. 20.4
Fig. 20.5
Top View
S3
Flush
Flush
201
201
202
S3
202
55 europecustomerservice@kidkraft.com

Table of Contents

Related product manuals