EasyManua.ls Logo

Comtech EF Data UT-4500 Series - Page 190

Comtech EF Data UT-4500 Series
208 pages
Print Icon
To Next Page IconTo Next Page
To Next Page IconTo Next Page
To Previous Page IconTo Previous Page
To Previous Page IconTo Previous Page
Loading...
UT-4500 Series C- and Ku-Band Up Converters MN/UT4500.IOM
Appendix A Revision 3
A–8
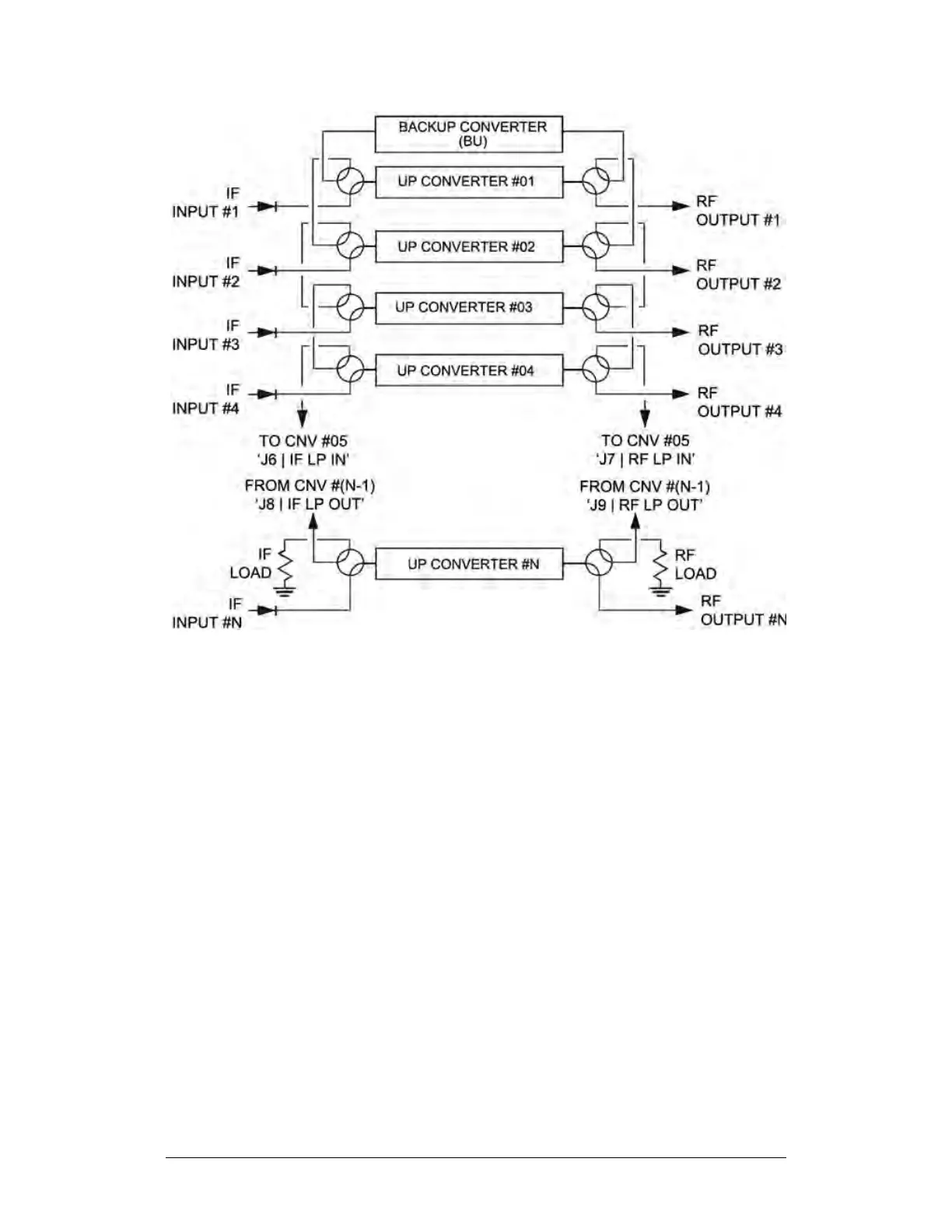
Figure A-8. 1:N Redundant Configuration Diagram (with IOM and TSM)

Table of Contents

Related product manuals