EasyManua.ls Logo

Dell PowerEdge C6220 II - Page 175

Dell PowerEdge C6220 II
349 pages
To Next Page IconTo Next Page
To Next Page IconTo Next Page
To Previous Page IconTo Previous Page
To Previous Page IconTo Previous Page
Loading...
Removing and Installing System Components | 175
1 Remove the system-board assembly. See “Removing a System-Board
Assembly" on page 170.
WARNING: The heat sink may be hot to touch for some time after the system has
been powered down. Allow the heat sink to cool before removing it.
CAUTION: Never remove the heat sink from a processor unless you intend to
remove the processor. The heat sink is necessary to maintain proper thermal
conditions.
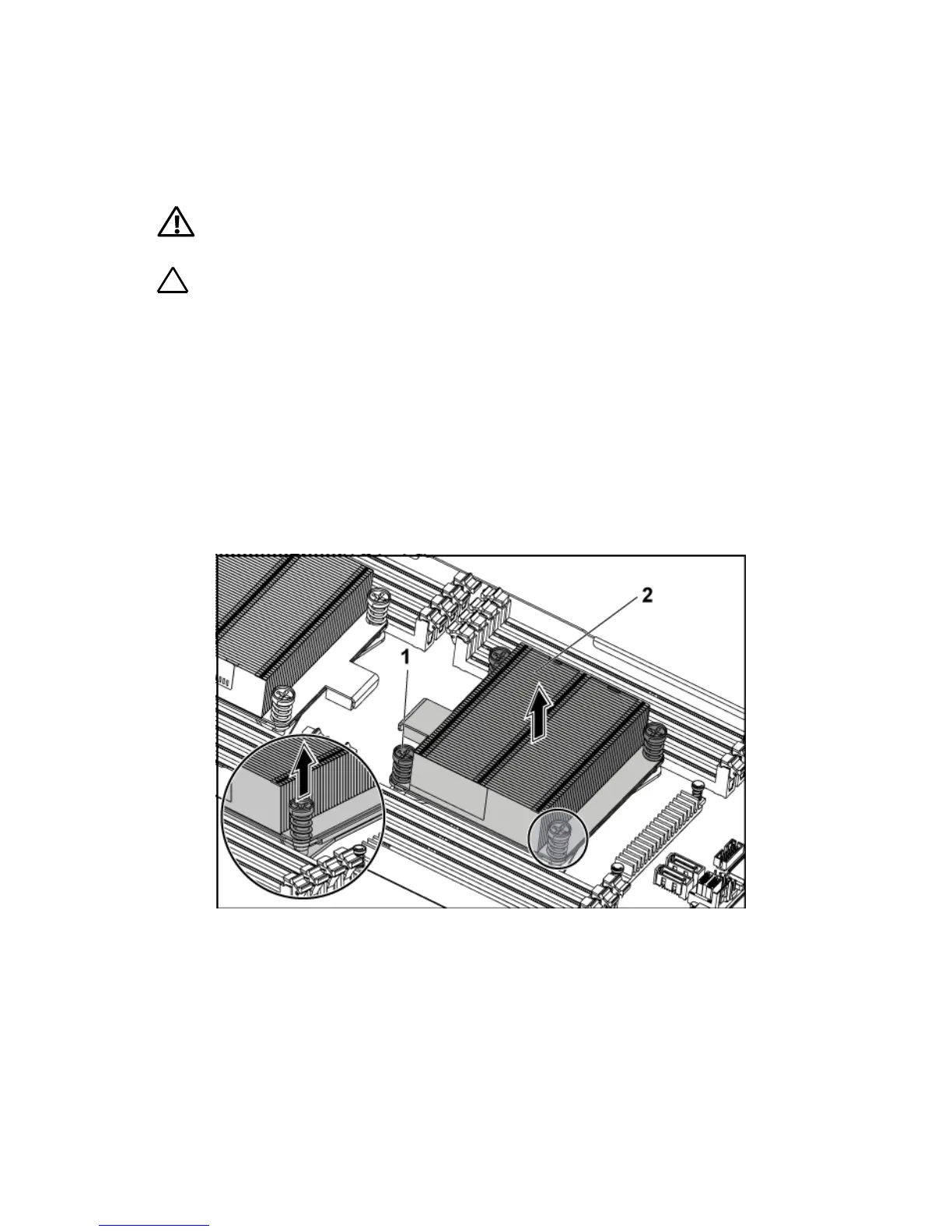
2 Using a Phillips screwdriver, loosen one of the heat-sink retention
screws. See Figure 3-19.
Wait for 30 seconds for the heat sink to loosen from the processor.
3 Remove the other three heat-sink retention screws.
4 Gently lift the heat sink off the processor and set the heat sink aside
with thermal grease side facing up.
Figure 3-19. Removing and Installing the Heat Sink
1
screw (4)
2
heat sink

Table of Contents

Other manuals for Dell PowerEdge C6220 II

Related product manuals