EasyManua.ls Logo

Digitronic CamCon DC50 - Deleting Programs; Copying Programs

Digitronic CamCon DC50
90 pages
Print Icon
To Next Page IconTo Next Page
To Next Page IconTo Next Page
To Previous Page IconTo Previous Page
To Previous Page IconTo Previous Page
Loading...
Digitronic Digital Cam Switch Unit
Automationsanlagen GmbH CamCon DC50/51
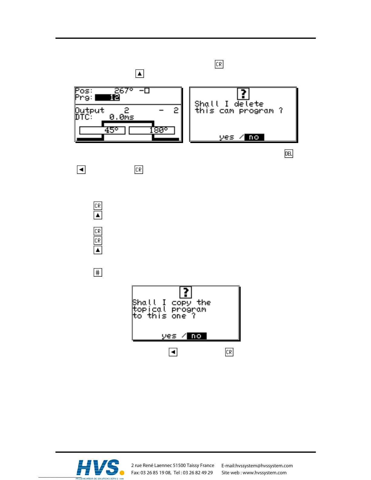
7.3.14. Deleting programs
If you want to erase a whole program, you have to press the key to enter the input of the output
number. Skip it by pressing the key, and you enter the program selection for programming.
Enter the number of the program that you want to delete with the numeric keys. Press and the
display shows the security precaution question for the deletion of programs. Move the cursor to "yes"
with the key, and press the key to delete the program.
7.3.15. Copying programs
With the CamCon you also copy whole programs. This is done as follows:
1. Press the key, the cursor moves to the input of the output number.
2. Press the key, the cursor moves to the input of the program number.
3. Select the program you want to copy using the numeric keys.
4. Press the key to confirm your selection.
5. Press the key, the cursor moves to the input of the output number.
6. Press the key, the cursor moves to the input of the program number.
7. Using the numeric keys, select the program onto which you want to copy the previously selected
program.
8. Press the key, to start the copying process. The display shows the question:
9. Move the cursor to "yes" with the key and press the key to confirm your input.
This finally initializes the copying process, and after a short while the new program appears on the
display.
,Version from: Aug. 04 Page: 39
2 rue René Laennec 51500 Taissy France
Fax: 03 26 85 19 08, Tel : 03 26 82 49 29
E-mail:hvssystem@hvssystem.com
Site web : www.hvssystem.com

Table of Contents

Related product manuals