EasyManua.ls Logo

Doosan DISD SD 310 - Page 117

Doosan DISD SD 310
696 pages
Print Icon
To Next Page IconTo Next Page
To Next Page IconTo Next Page
To Previous Page IconTo Previous Page
To Previous Page IconTo Previous Page
Loading...
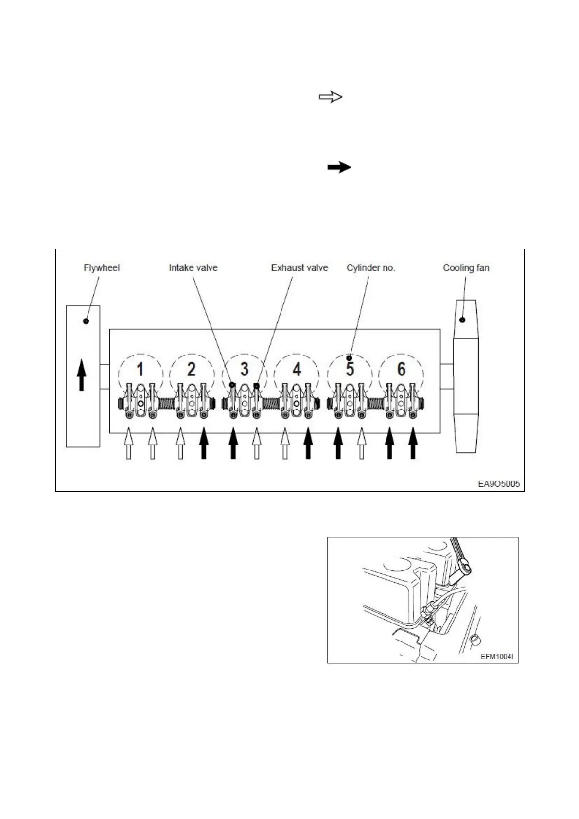
(1) Rotate the crankshaft to overlap the intake and the exhaust valves of #6, then #1 cylinder become the
compression state of top dead center.
(2) Therefore adjust the valve clearance corresponding to ― ―of lower figure.
At this time there are no force on the push rods of #1 cylinder.
(3) Rotating the crankshaft by one revolution, #6 cylinder become the compression state of top dead
center.
(4) Thereafter adjust the valve clearances corresponding to ― ―of lower figure.
(5) After reinsuring the valve clearances, retighten if necessary.
No. 1 cylinder is located at the side where flywheel was installed.
2.1.9 Cylinder compression pressure
Stop the engine after warming up, and take out nozzle
holder assembly.
5ton Diesel Engine SPC000006
Page 17

Table of Contents

Related product manuals