EasyManua.ls Logo

Doosan DISD SD 310 - Detailed List of Spare Parts

Doosan DISD SD 310
696 pages
Print Icon
To Next Page IconTo Next Page
To Next Page IconTo Next Page
To Previous Page IconTo Previous Page
To Previous Page IconTo Previous Page
Loading...
Detailed list of spare parts
Figure 2
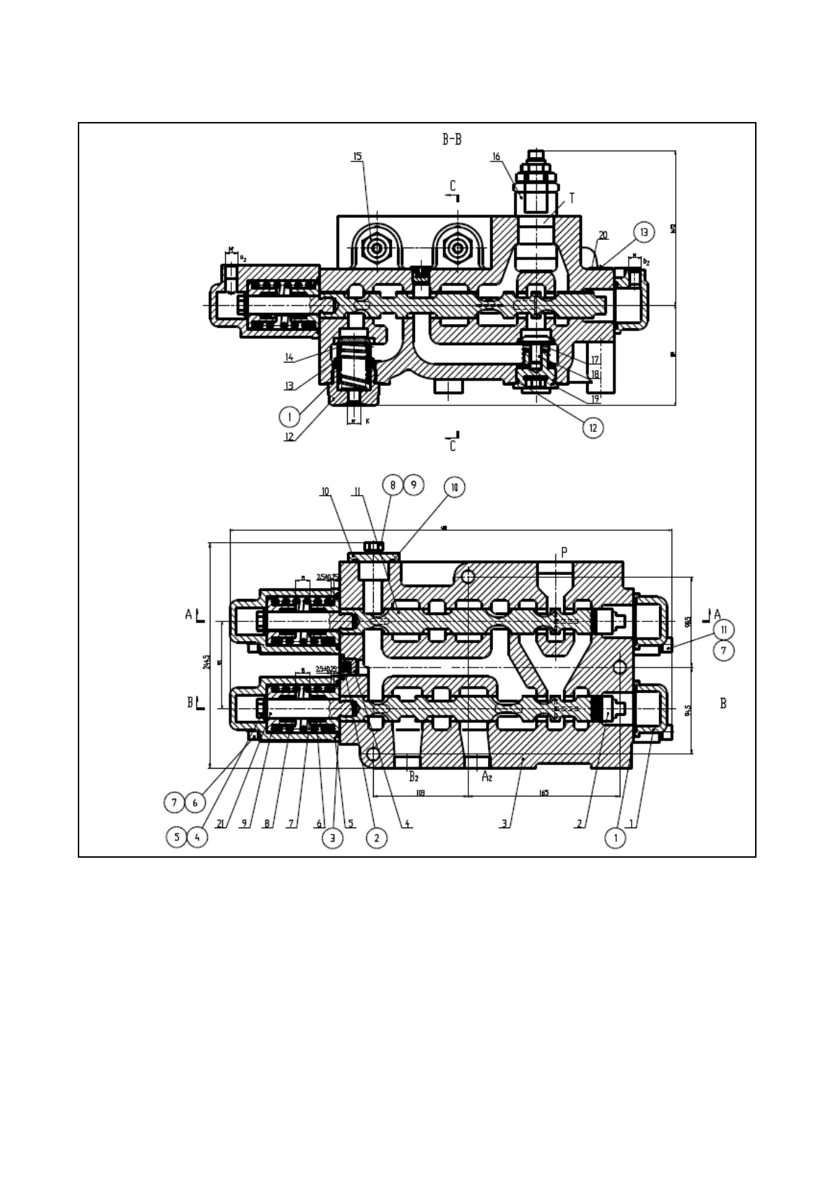
SPC000014 Main Control Valve
Page 4

Table of Contents

Related product manuals