EasyManua.ls Logo

Doosan DISD SD 310 - Page 181

Doosan DISD SD 310
696 pages
Print Icon
To Next Page IconTo Next Page
To Next Page IconTo Next Page
To Previous Page IconTo Previous Page
To Previous Page IconTo Previous Page
Loading...
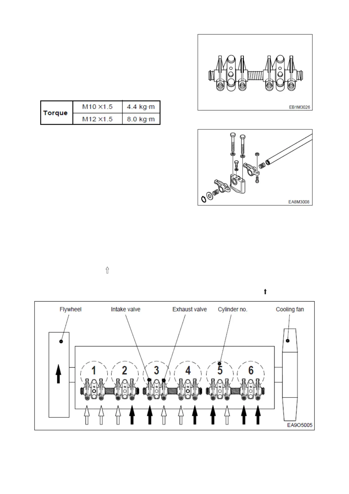
3.3.28 Rocker arm assembly
Apply lubricating oil to the rocker arm bush and shaft,
and assemble the intermediate bracket with the
rockerarm (rocker arm assembly) on the cylinder block
using fixing bolts. In tightening the bolts, it must be done
at the specified value using zigzag method.
Semi-install valve clearance adjusting bolts onto the
rocker arm.
Install the spring, rocker arm, bracket, rocker arm,
spring, washer, and snap ring in the described sequence.
Install the rocker arm and bracket in the same
direction.
Adjust the valve clearance as following guide.
<Guide for valve clearance adjustment>
By turning the crankshaft, when the intake and exhaust of #6 cylinder (the sixth cylinder from the
flywheel) overlap, that is, when #1 cylinder‘s piston come at the compression top dead center (OT), adjust
the valve clearances by mark indicated.
After having turned the crankshaft by 360° and Intake & exhaust valves of #1 cylinder overlap, that is,
when #6 cylinder is in the state of compression TDC (OT), the clearance indicated by mark is adjusted.
5ton Diesel Engine SPC000006
Page 81

Table of Contents

Related product manuals