EasyManua.ls Logo

Epson FX 880 - Default Chapter; Control Panel Buttons and Lights

Epson FX 880
211 pages
Print Icon
To Next Page IconTo Next Page
To Next Page IconTo Next Page
To Previous Page IconTo Previous Page
To Previous Page IconTo Previous Page
Loading...
Control Panel Buttons and Lights
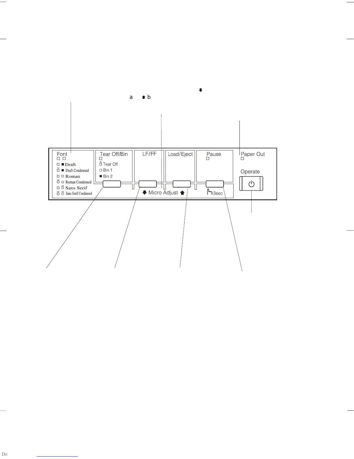
Font lights
Indicate which font is
selected. To select a font,
see Chapter 5.
Micro Adjust
Using the micro adjust
feature, you can press the
D
and
U
buttons to adjust the
top-of-form or tear-off
position. See Chapter 3.
Paper Out light
On when no paper is loaded in
the selected paper source or
paper is not loaded correctly.
Flashes when paper has not
been fully ejected or a paper
jam has occurred.
Operate button
Turns the printer on
and off. The printer
is off when the top
of this button is even
with the button
protectors.
Pause button
Stops printing
temporarily, and
resumes printing
when pressed again.
When held down for
three seconds,
enters the micro
adjust mode. When
pressed again, exits
the micro adjust
mode.
Pause light
On when the printer is
paused.
Load/Eject button
Loads a single sheet
of paper.
Ejects a single sheet
of paper if a sheet is
loaded.
Loads continuous
paper from the
standby position.
Feeds continuous
paper backward to
the standby position.
LF/FF button
Feeds paper line by
line.
Ejects a single sheet
or advances
continuous paper to
the next top-of-form
position when held
down.
Tear Off/Bin button
Feeds continuous
paper backward to
the tear-off position.
Advances continuous
paper from the tear-off
position to the
top-of-form position.
Selects a cut-sheet
feeder bin when the
cut-sheet feeder is
installed.
Tear Off/Bin light
Flashes when
continuous paper is in
the tear-off position.
On when bin 1 of the
optional cut-sheet
feeder is selected.
Off when bin 2 of the
optional cut-sheet
feeder is selected.
L
Gentian Rev.c
A5 size cover-1
07-08-97 DR, pass 0

Table of Contents

Related product manuals