EasyManua.ls Logo

Furuno GP-39 - Page 14

Furuno GP-39
97 pages
Print Icon
To Next Page IconTo Next Page
To Next Page IconTo Next Page
To Previous Page IconTo Previous Page
To Previous Page IconTo Previous Page
Loading...
1. OPERATIONAL OVERVIEW
1-6
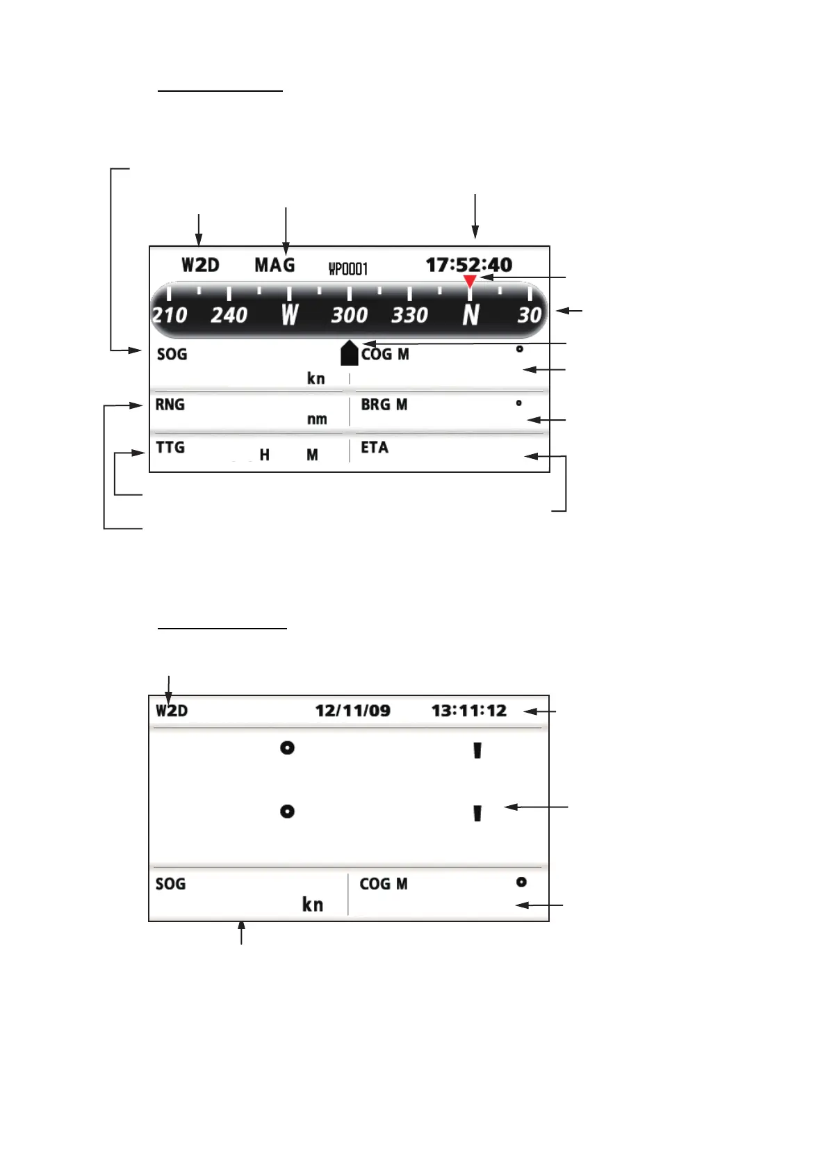
Steering Display
The steering display provides steering information.
Nav Data Display
14.6
300
0.46 299
00 15
Time-To-Go
to destination
Time
Receiver status
Speed
over ground
Bearing reference;
MAG(netic) or TRUE
Range from
own ship to
destination
Own ship mark
Bearing scale
Estimated Time of
Arrival at destination
Bearing to
the destination
Course over ground
Bearing destination
12/11/09
17:57:40
Speed over ground
14.6
300
135 21.074
34 44.589
N
E
Receiver status
Date and time
Position in latitude
and longitude
Course over ground

Table of Contents

Other manuals for Furuno GP-39

Related product manuals