EasyManua.ls Logo

GE P741 - Relay Software

GE P741
560 pages
Print Icon
To Next Page IconTo Next Page
To Next Page IconTo Next Page
To Previous Page IconTo Previous Page
To Previous Page IconTo Previous Page
Loading...
P74
x/EN FD/Na7
Firmware Design
(FD) 9
-
18
MiCOM P74
1, P742, P743
FD
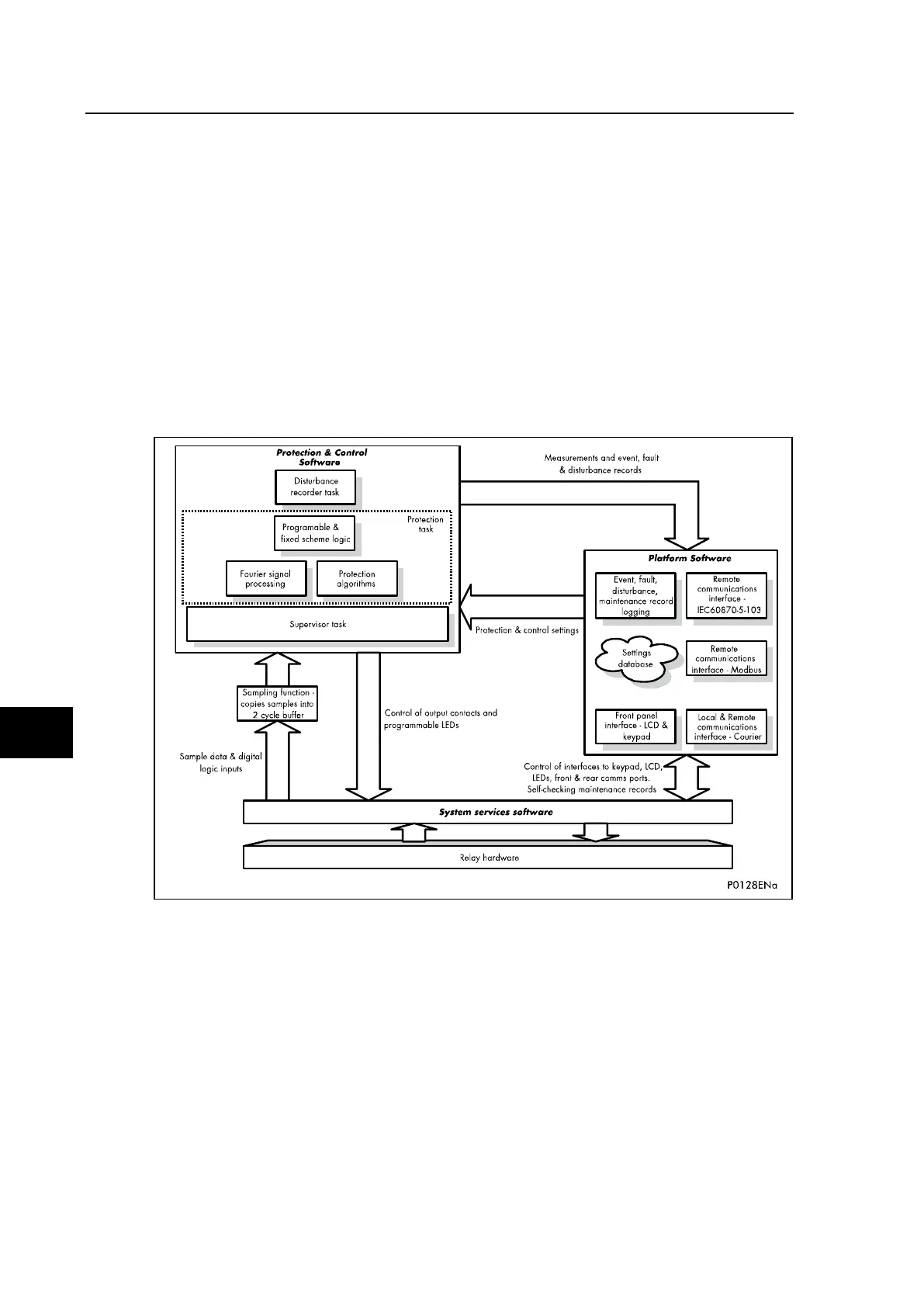
3. RELAY SOFTWARE
The relay software was introduced in the overview of the relay at the start of this manual
(P74x/EN FD). The software can be considered to be made up of five sections:
The real-time operating system
The system services software
The communication software
The platform software
The protection & control software
This section describes in detail the latter two of these, the platform software and the
protection & control software, which between them control the functional behaviour of the
relay. The figure below shows the structure of the relay software.
FIGURE 9: RELAY SOFTWARE STRUCTURE

Table of Contents

Related product manuals