EasyManua.ls Logo

Koden KDS-5000BB - Mark, Color Rejection, Operation Mode Keys

Koden KDS-5000BB
112 pages
Print Icon
To Next Page IconTo Next Page
To Next Page IconTo Next Page
To Previous Page IconTo Previous Page
To Previous Page IconTo Previous Page
Loading...
- 93 -
KEYS
MARK KEY ( )
The Mark key functions to mark desired locations on the screen, and 5 marks can be
inscribed at the Cross cursor locations desired.
Move the Cross cursor to the desired locations and press the Mark key.
The Mark ( ) appears at the Cross cursor location and moves with ships movement.
This mark also appears on the screen
when the sub-display, WAKE display is active.
MARK
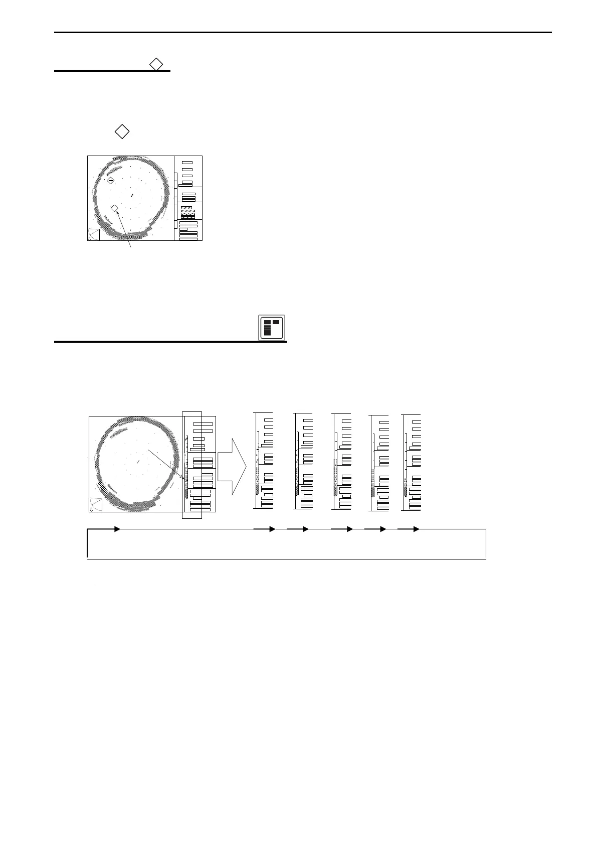
COLOR REJECTION KEY ( )
This key can eliminate the appearance of unwanted week colors.
It can eliminate small fish and unidentified objects and display the clearer images.
Each time this key is pressed, one of the weakest display colors is eliminated.
Color scale
7 colors 6 colors 5 colors 4 colors 3 colors 2 colors
RANGE
BEARING
SECTOR
TILT
MARKER
CURSOR
RANGE
BEARING
SECTOR
TILT
MARKER
CURSOR
RANGE
BEARING
SECTOR
TILT
MARKER
CURSOR
RANGE
BEARING
SECTOR
TILT
MARKER
CURSOR
RANGE
BEARING
SECTOR
TILT
MARKER
CURSOR
RANGE
BEARING
SECTOR
TILT
MARKER
CURSOR
TILT
MARKER
CURSOR
RANGE
BEARING
SECTOR

Table of Contents

Related product manuals