EasyManua.ls Logo

Koden KDS-5000BB - Knob Functions

Koden KDS-5000BB
112 pages
Print Icon
To Next Page IconTo Next Page
To Next Page IconTo Next Page
To Previous Page IconTo Previous Page
To Previous Page IconTo Previous Page
Loading...
- 84 -
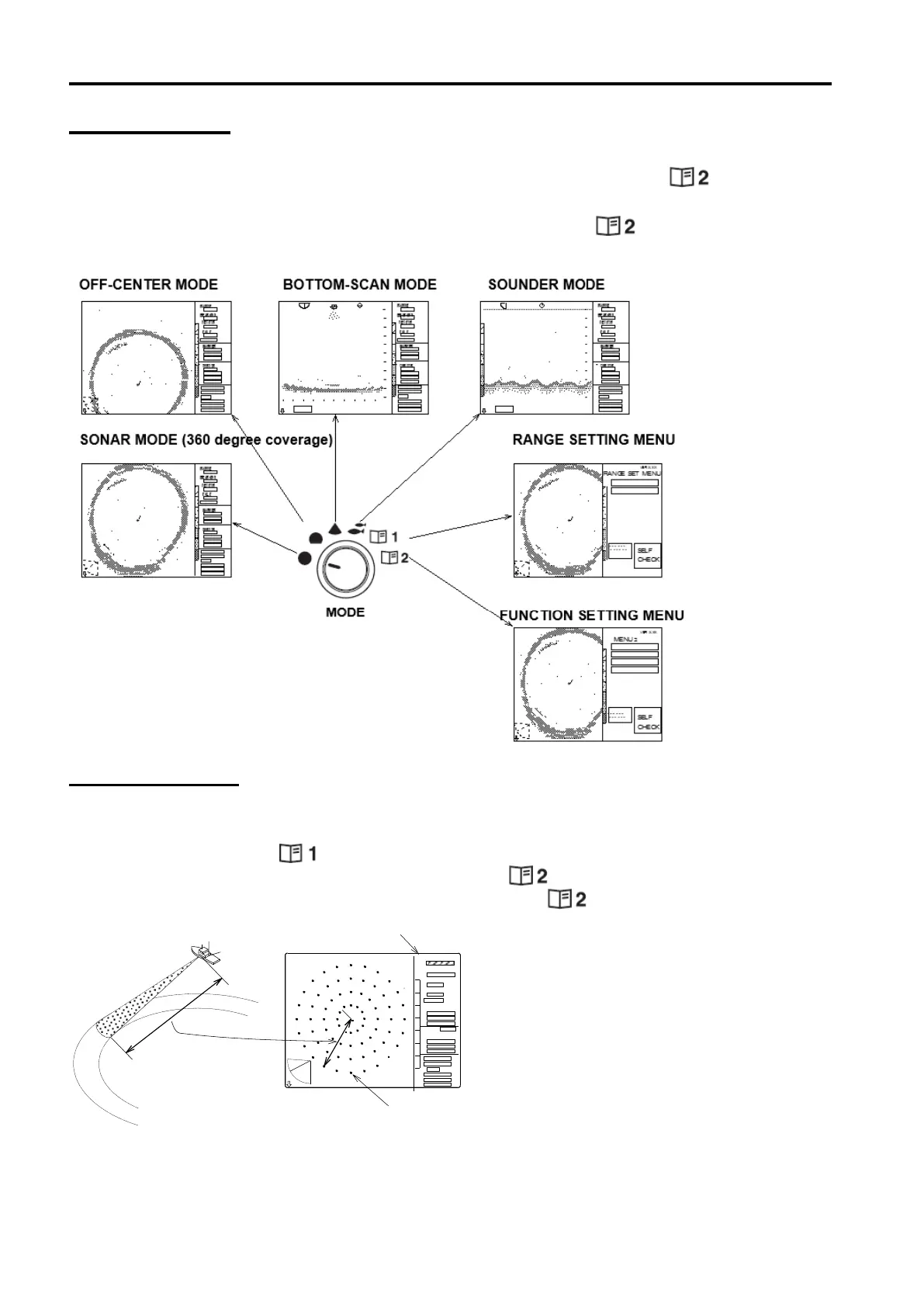
KNOBS
MODE KNOB
The display mode is selected.
The Sub-Display menu displayed in the right split screen can be set via .
Refer to page 58
The own ships position in the Off-Center Mode can be set via .
Refer to page 64
RANGE KNOB
The basic ranges can be changed.
8 ranges can be set via . Refer to page 48
The unit of range measurement can be selected via . Refer to page 71
The display (ON/OFF) of Scale dots can be selected via . Refer to page 64
Display of the Range in selected unit
Changes this distance
SCALE DOTS
RANGE
BEARING
SECTOR
TILT
MARKER
CURSOR

Table of Contents

Related product manuals