EasyManua.ls Logo

Koden KDS-5000BB - Operation Panel Overview

Koden KDS-5000BB
112 pages
Print Icon
To Next Page IconTo Next Page
To Next Page IconTo Next Page
To Previous Page IconTo Previous Page
To Previous Page IconTo Previous Page
Loading...
- 35 -
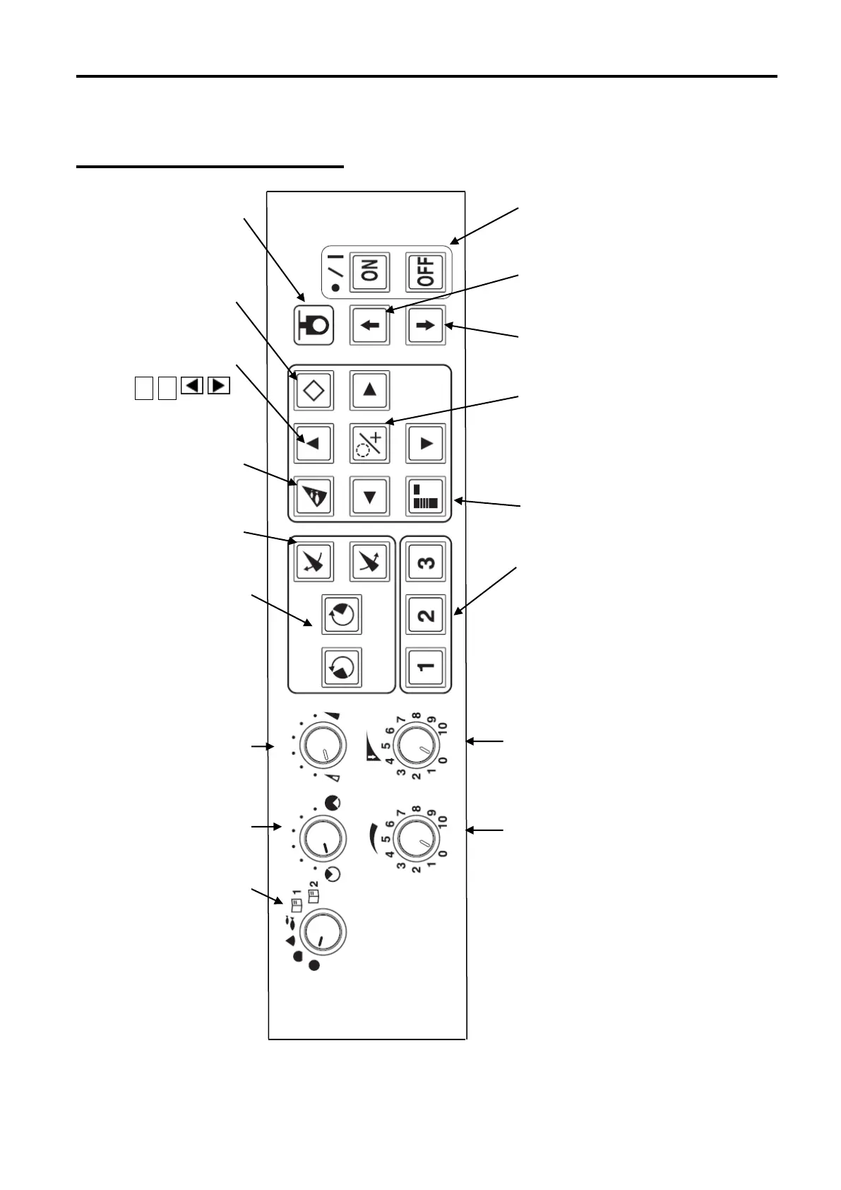
BASIC OPERATION
OPERATION PANEL
Sensor Lamp
Refer to page 87
Mark key
Refer to page 93
Cursor Shift Keys
(// / )
Refer to page 90
Target Lock Key
Refer to page 92
Tilt Keys
Refer to page 89
Bearing Keys
Refer to page 88
Range Knob
Refer to page 84
Sector Knob
Refer to page 85
Mode Knob
Refer to page 84
Power ON/OFF Keys
Refer to page 87
Hoist Keys
Refer to page 87
Lower Keys
Refer to page 87
Cursor Selection Keys
(Ring Marker/Cross Cursor)
Refer to page 90
Color rejection Key
Refer to page 93
Operation Mode Keys
Refer to page 94
Far Gain Knob
Refer to page 86
Gain Knob
Refer to page 86

Table of Contents

Related product manuals