EasyManua.ls Logo

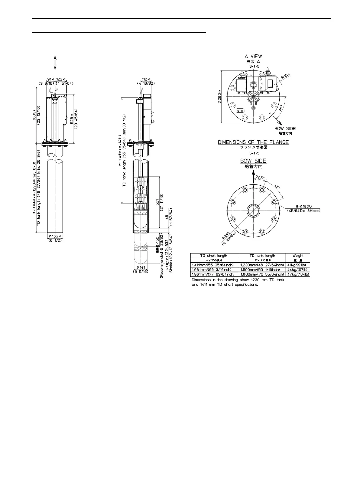
Koden KDS-5000BB - Dimensions Hull Unit (DHU-530)

Koden KDS-5000BB
112 pages
Print Icon
To Next Page IconTo Next Page
To Next Page IconTo Next Page
To Previous Page IconTo Previous Page
To Previous Page IconTo Previous Page
Loading...
- 15 -
INSTALLATION
DIMENSIONS: HULL UNIT (DHU-530)
Unit: mm (inch)

Table of Contents

Related product manuals