EasyManua.ls Logo

LTV 1150 - Page 161

Default Icon
341 pages
Print Icon
To Next Page IconTo Next Page
To Next Page IconTo Next Page
To Previous Page IconTo Previous Page
To Previous Page IconTo Previous Page
Loading...
p/n 18603-001, Rev. C LTV
®
1200/1150 Ventilator Service Manual Page 8-39
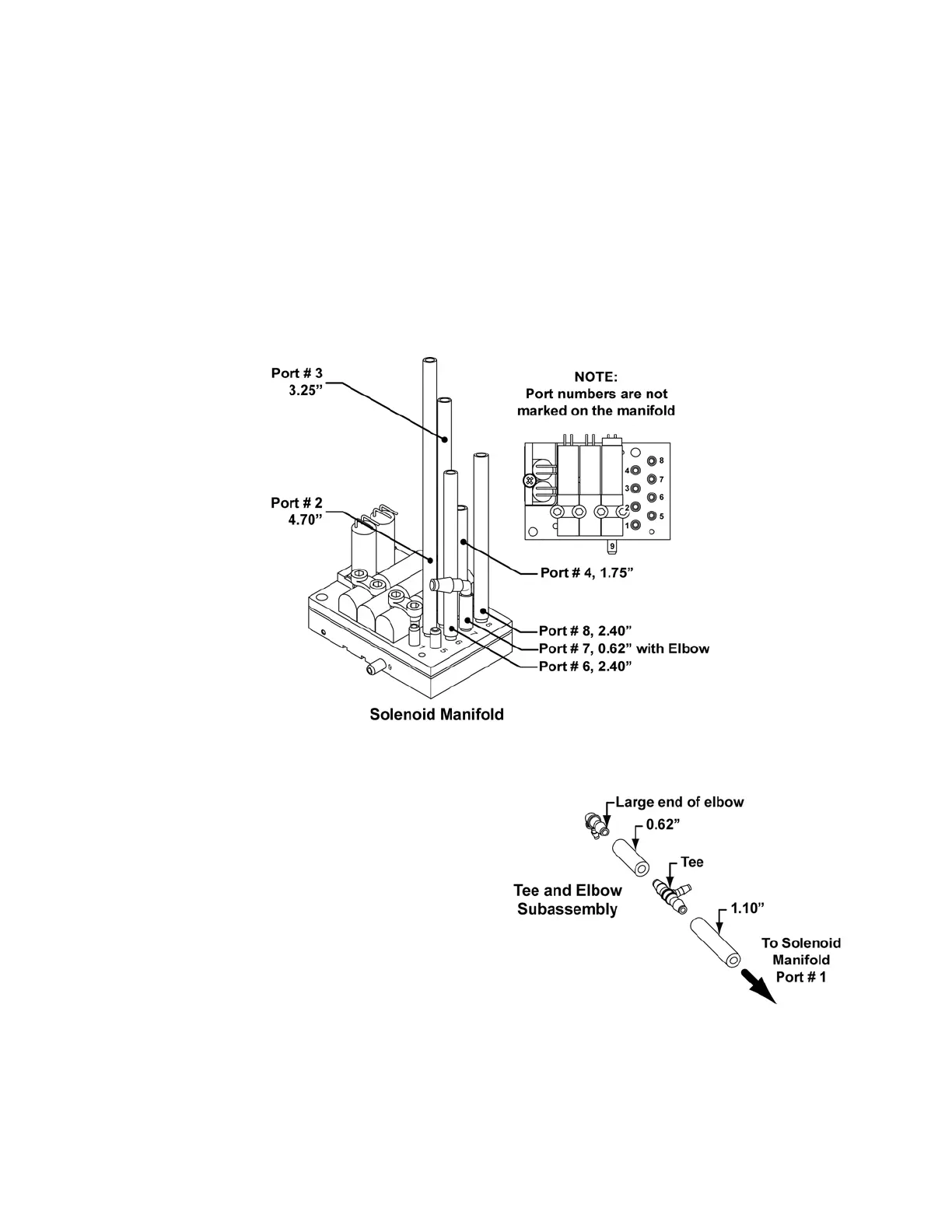
Solenoid Manifold Preparation:
1) Attach tubing to the Solenoid Manifold P/N 18528-001 ports;
Port # 2 – 4.70” of tubing P/N 10458
Port # 3 – 3.25” of tubing P/N 11834
Port # 4 – 1.75” of tubing P/N 11834
Port # 6 – 2.40” of tubing P/N 11834
Port # 8 – 2.40” of tubing P/N 11834
2) Insert the smaller end (O.D.) of Elbow fitting P/N 11592 into 0.62” of tubing P/N
11834 and attach the tubing to manifold port # 7.
3) Construct a Tee & Elbow subassembly, as follows;
Insert Tee fitting P/N 18186-
001 into 1.10” and 0.62” of
tubing P/N 11834
Insert the larger end (O.D.) of
the Elbow fitting P/N 10958
into the open end of the 0.62”
of tubing (ensure that the
open ends of the elbow and
tee fittings are rotated 90°
from each other, as shown)

Table of Contents

Related product manuals