EasyManua.ls Logo

MADVAC PS300 - Page 97

MADVAC PS300
182 pages
Print Icon
To Next Page IconTo Next Page
To Next Page IconTo Next Page
To Previous Page IconTo Previous Page
To Previous Page IconTo Previous Page
Loading...
8
10
11
3
12
6
4
2
7
13
9
5
APPLY NON-REMOVABLE
THREADS LOCKER ON ALL
FASTENERS
1
A
A
A
A
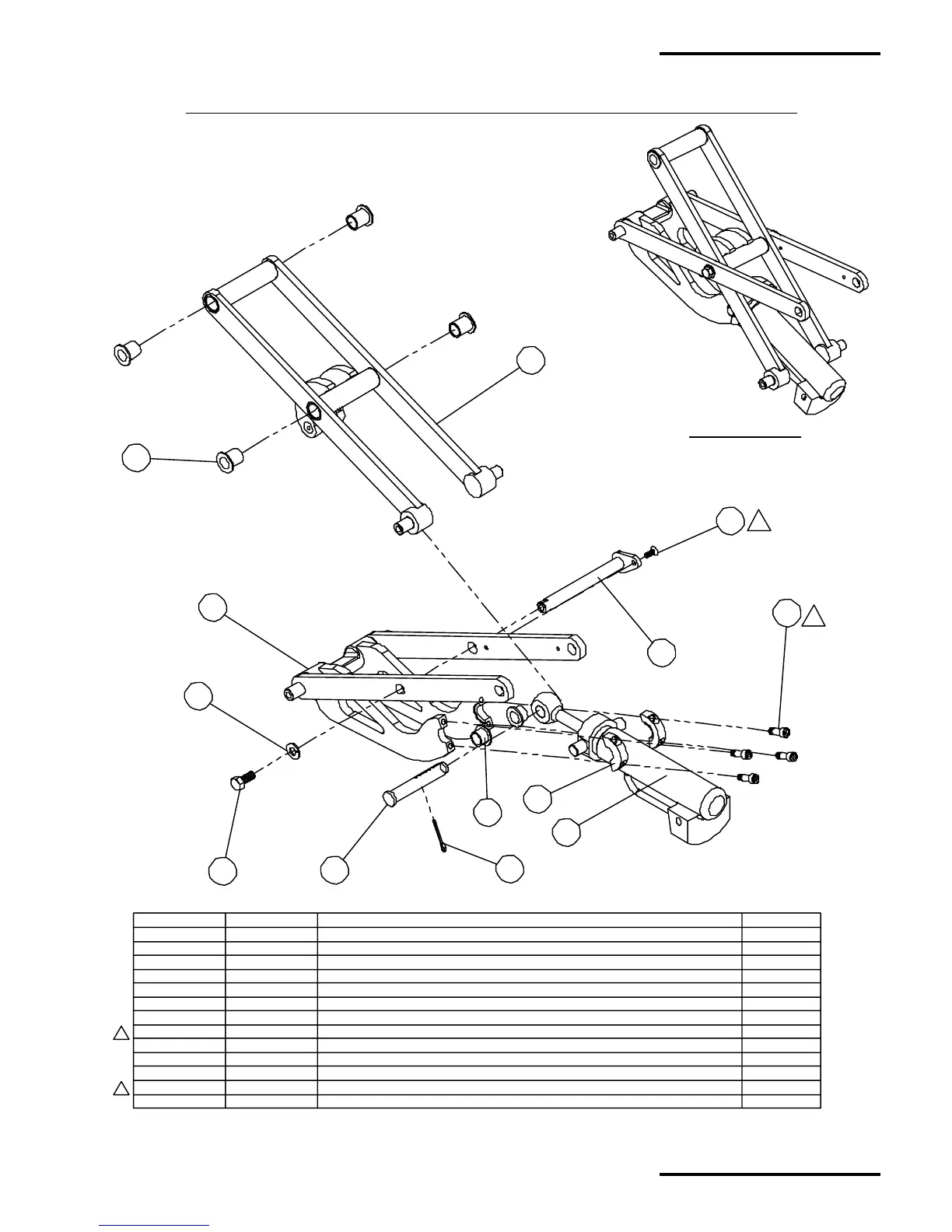
ITEM NUMBER PART NUMBER DESCRIPTION QUANTITY
1 67553 CYLINDER FRAME ASSEMBLY 1
2 67562 CYLINDER LEVER ASSEMBLY 1
3 67719 PIVOT 1
4 65758 BRONZE FLANGE BUSHING Ø 1/2" I.D. X Ø 5/8" O.D. X 3/4" Lg. 4
5 90023 LOCK WASHER Ø 5/16" 1
6 90022 BOLT HEX. HEAD Ø 5/16" - 18 UNC. X 3/4" Lg. 1
7 67748 HYDRAULIC CYLINDER 1
8 90497 SOCKET HEAD CAP SCREW Ø 1/4" - 20 UNC. X 3/4" Lg. 4
9 67716 SUPPORT CYLINDER BEARING 2
10 17230 CLEVIS PIN UNIVERSAL 1
11 90088 CUTTER PIN Ø1/8" X 1" LG 1
12 90413 MACHINE SCREW FLAT Ø 10-32 X 1/2" lg 1
13 67713 FLANGED TYPE 2
ASSEMBLY VIEW
A67773 - CYLINDER ARM LEVER SUB-ASSEMBLY (OPTION K67377)
CYLINDER ARM LEVER SUB-ASSEMBLY FOR PS300 OPTION K67377 - HYDRAULIC SIDE DUMP
MadVac Inc.
PS300 Operator's & Parts Manual
February 2003, Revision: A
VA-20
Vacuum Section

Table of Contents

Other manuals for MADVAC PS300