EasyManua.ls Logo

Mercury Optimax 115 - Page 360

Mercury Optimax 115
522 pages
Print Icon
To Next Page IconTo Next Page
To Next Page IconTo Next Page
To Previous Page IconTo Previous Page
To Previous Page IconTo Previous Page
Loading...
RIGHT HAND NON-RATCHETING
Page 6A-6 90-855347R1 JANUARY 1999
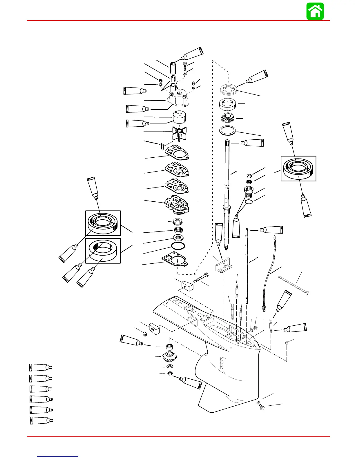
Gear Housing (Drive Shaft)(Standard Rotation)
1
2
3
7
8
10
12
13
14
15
16
17
19
22
23
24
25
26
27
29
30
32
33
34
35
36
37
38
39
40
41
42
43
44
45
46
47
48
49
11
20
10
45
28
31
23
95
95
7
95
95
95
98
33
109
7
95
95
7
95
19
95
109
9
95
Soap (Purchase Locally)
23
4.75 IN./120.65MM
TORPEDO DIA.
7
Loctite 271 (92-809820)
Perfect Seal (92-34227-1)
19
Loctite 680 (92-809833)
33
95
2-4-C With Teflon (92-825407A12)
GM Silicone Sealer (92-91600-1)
109
4
5
6
18
21
19

Table of Contents

Other manuals for Mercury Optimax 115

Related product manuals