EasyManua.ls Logo

MIMAKI CG-60EX - Page 38

MIMAKI CG-60EX
110 pages
Print Icon
To Next Page IconTo Next Page
To Next Page IconTo Next Page
To Previous Page IconTo Previous Page
To Previous Page IconTo Previous Page
Loading...
– 2.16 –
243~400
399~691
851~1008
90~247
735~892
PR2(3)
PR2(3)
PR2(3)
PR1
PR1
PR1
:
:
243~400
399~691
893~1050
90~247
735~892
1147~1304
PR1
PR1
PR1
PR2(3)
PR2(3)
PR2(3)
:
:
PR2(3)
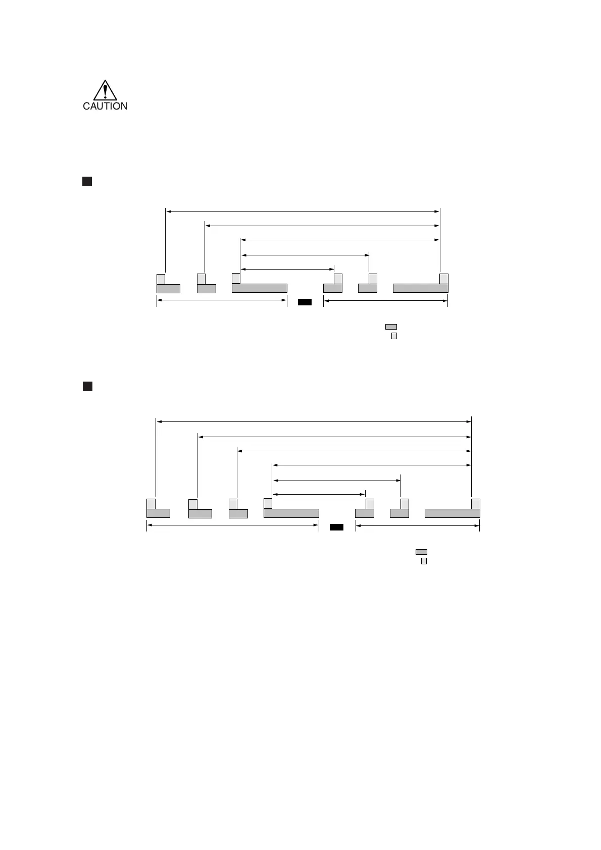
* For CG-100EX and -130EX, move the pinch roller 3 to the retracted point located
at the leftmost end of its travel range in the case where the pinch roller 3 is not
used for operation. If the pinch roller 3 is located at any position other the retracted
point, the device will not be able to perform the sheet detection.
CG-100EX
CG-130EX
Grid roller
Pinch roller
Travel range of PR2 (3)
Travel range of PR1
Sheet sensor
Travel range of PR2 (3)
Travel range of PR1
Sheet sensor
Grid roller
Pinch roller
PR,
PR,

Table of Contents

Related product manuals