EasyManua.ls Logo

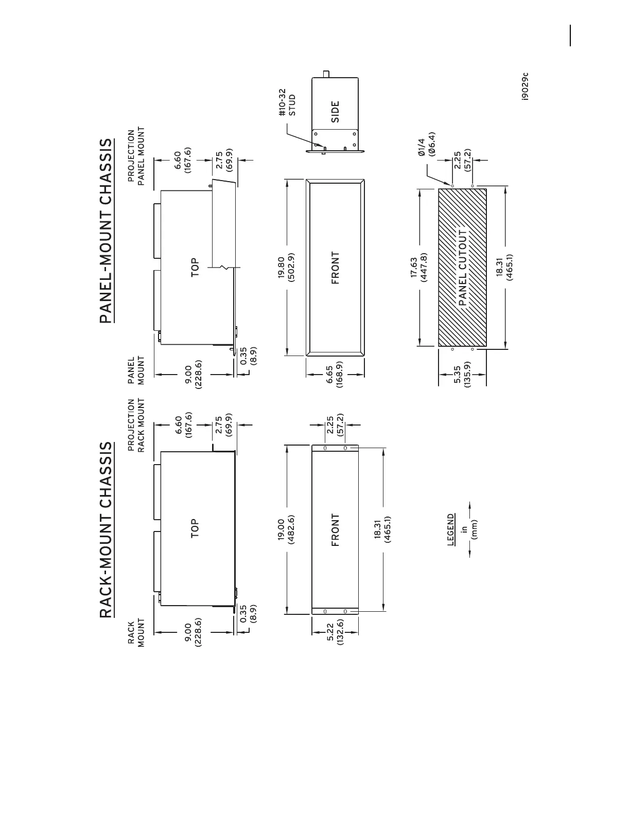
Schweitzer Engineering Laboratories SEL-587Z - Figure 2.1 Relay Dimensions, Panel Cutout, and Drill Plan

Schweitzer Engineering Laboratories SEL-587Z
276 pages
Print Icon
To Next Page IconTo Next Page
To Next Page IconTo Next Page
To Previous Page IconTo Previous Page
To Previous Page IconTo Previous Page
Loading...
2.3
Date Code 20020903 SEL-587Z Instruction Manual
Installation
Relay Mounting and Maintenance
Figure 2.1 Relay Dimensions, Panel Cutout, and Drill Plan.

Table of Contents

Related product manuals