EasyManua.ls Logo

Siemens SIMATIC - Page 462

Siemens SIMATIC
648 pages
Print Icon
To Next Page IconTo Next Page
To Next Page IconTo Next Page
To Previous Page IconTo Previous Page
To Previous Page IconTo Previous Page
Loading...
Analog modules
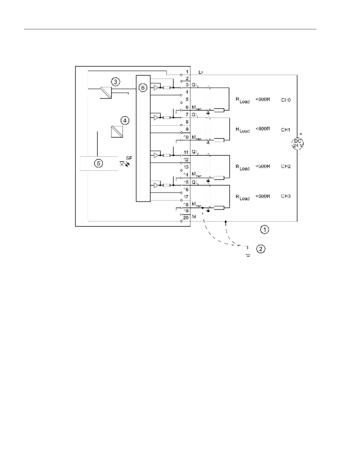
6.14 Analog output module SM 332; AO 4 x 12 Bit; (6ES7332-5HD01-0AB0)
S7-300 Module data
462 Manual, 06/2017, A5E00105505-AJ
Wiring: Current output
Equipotential bonding
Functional earthing
Internal supply
Electrical isolation
Backplane bus interface
Analog-to-Digital Converter (ADC)
Figure 6-47 Wiring and block diagram

Table of Contents

Other manuals for Siemens SIMATIC

Related product manuals