EasyManua.ls Logo

Stryker EPIC II - Optional Dual Head End 2-Stage I.V. Assembly - 2035-113-000

Stryker EPIC II
228 pages
Print Icon
To Next Page IconTo Next Page
To Next Page IconTo Next Page
To Previous Page IconTo Previous Page
To Previous Page IconTo Previous Page
Loading...
Return To Table of Contents
www.stryker.com 2030-809-002 REV D 201
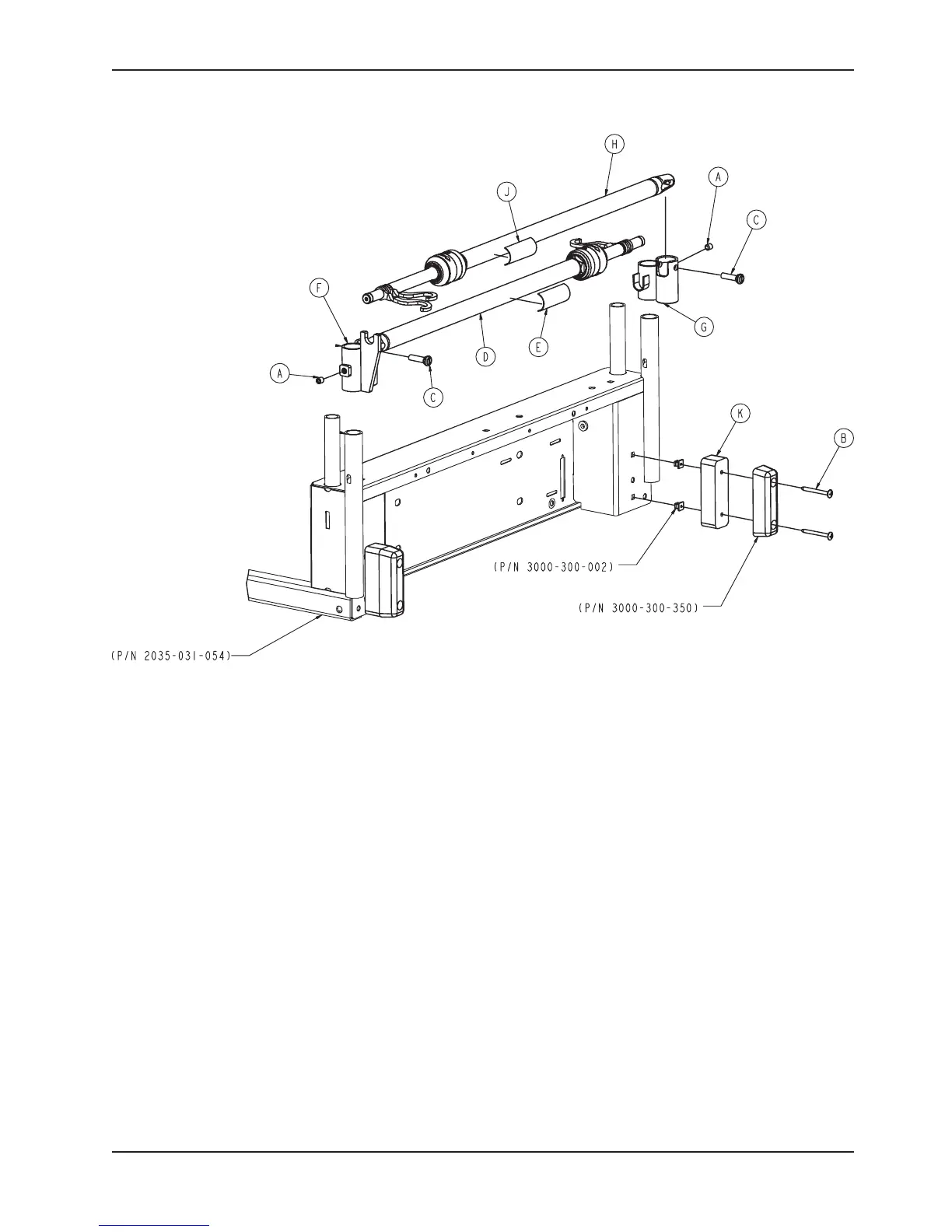
Item Part No. Part Name Qty.
A 0021-088-000 Set Screw 2
B 0023-277-000 Truss Head Screw 4
C 1015-024-035 Retaining Pin 2
D 2035-112-010 I.V. Pole Assembly, Left 1
E 2035-112-110 Specification Label 1
F 2035-113-001 I.V. Receptacle, Dual Head, Lt. 1
G 2035-113-002 I.V. Receptacle, Dual Head, Rt. 1
H 2035-113-011 I.V. Pole Assembly, Right 1
J 2035-113-111 Specification Label 1
K 2035-113-006 Head End Bumper Spacer 2
Optional Dual Head End 2-Stage I.V. Assembly - 2035-113-000

Table of Contents

Related product manuals