EasyManua.ls Logo

TDK-Lambda GENESYS 750W - Daisy-Chain Connection; Front Panel Locking; Unlocked Front Panel

TDK-Lambda GENESYS 750W
101 pages
Print Icon
To Next Page IconTo Next Page
To Next Page IconTo Next Page
To Previous Page IconTo Previous Page
To Previous Page IconTo Previous Page
Loading...
68
83507013 Rev G
Fig.5-5: Parallel operation with Remote sensing
MASTER
POWER SUPPLY
SLAVE#1
POWER SUPPLY
J1-25
J1-10
P
IPGM
+V
-V
+V
-V
+S
-S
LOAD
As short as possible
Twisted
pair
+S-S
+S
-S
Twisted
pair
J1-8 J1-12
To J1-10
SLAVE#2
POWER SUPPLY
+S
+LS
-LS-S
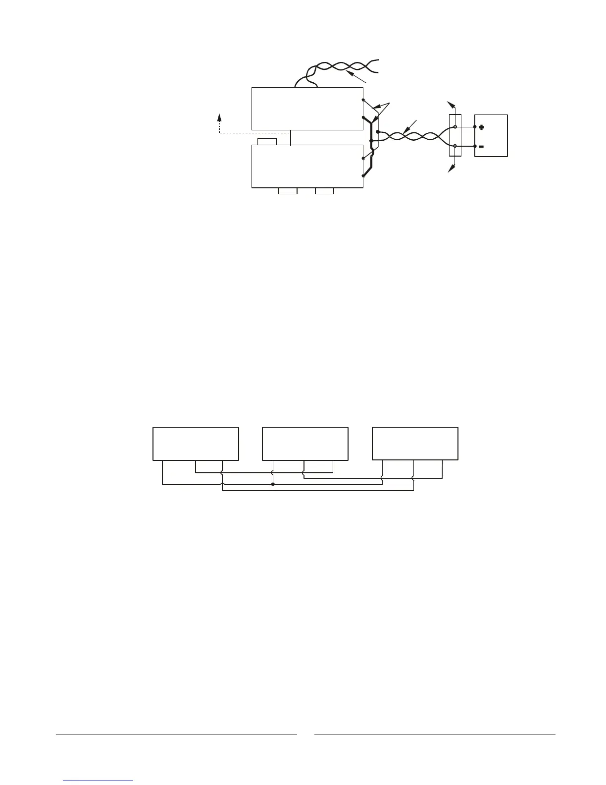
5.16 Daisy-Chain Connection
It is possible to configure a multiple power supply system to shut down all the units when a
fault condition occurs in one of the units. When the fault is removed, the system recovers
according to its setting to Safe-start or Auto-restart mode.
Setup switch SW1, position 5 should be set to its DOWN position to enable the Daisy-chain
operation. Other SW1 positions can be set according to the application requirements.
If a fault occurs in one of the units, its PS_OK signal will be set to a low level and the display
will indicate the fault. The other units will shut off and their display will indicate “SO”. When
the fault condition is removed, the units will recover to their last setting according to their
Safe-start or Auto-restart setting.
Fig. 5-6 shows connection of three units, however, the same connection method applies to
systems with a larger number of units.
Fig.5-6: Daisy-chain connection
POWER SUPPLY
#1
J1-2,3 J1-16
J1-16
J1-16
J1-15
PS_OK
POWER SUPPLY
#2
J1-2,3 J1-15
PS_OK
SO
POWER SUPPLY
#3
J1-2,3
J1-15
PS_OK
SO
SO
IF_COM
IF_COM
IF_COM
5.17 Front Panel Locking
The front panel controls can be locked to protect from accidental power supply parameter
change. Press and hold the PREV button to toggle between “Locked front panel’ and
“Unlocked front panel”. The display will cycle between “LFP” and “UFP”. Releasing the
PREV button while one of the modes is displayed, selects that mode.
5.17.1 Unlocked Front Panel
In this mode, the front panel controls are Enabled to program and monitor the power
supply parameters.

Table of Contents

Related product manuals