EasyManua.ls Logo

TOHATSU BFT250A - Page 37

TOHATSU BFT250A
639 pages
Print Icon
To Next Page IconTo Next Page
To Next Page IconTo Next Page
To Previous Page IconTo Previous Page
To Previous Page IconTo Previous Page
Loading...
2-21
dummyheaddummyhead
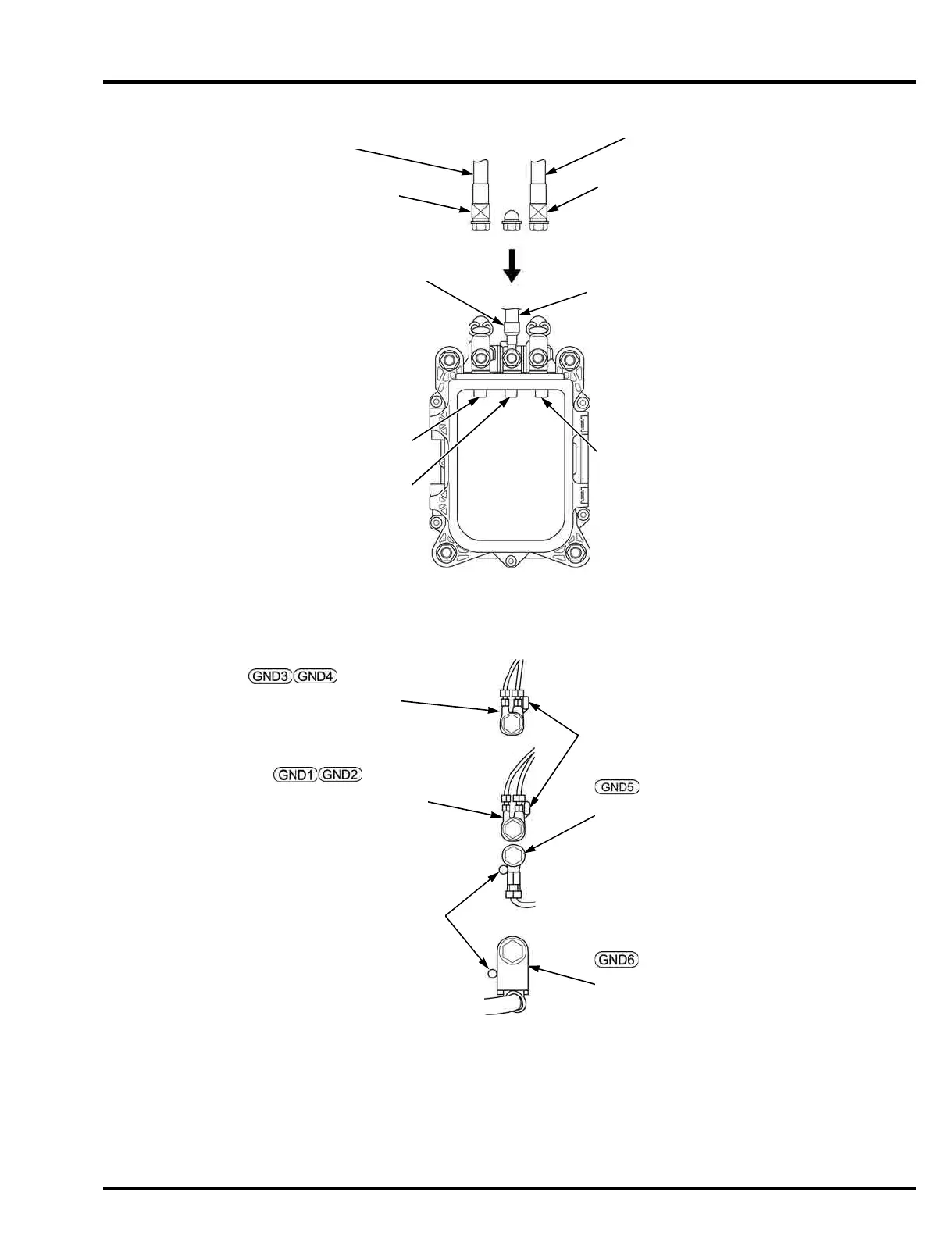
SERVICE INFORMATION
MAIN WIRE HARNESS
GROUND TERMINALS
POWER TILT RELAY CABLE
GREEN TAPE
YELLOW TAPE
GREEN
YELLOW
RED
ACG CABLE
RED TAPE
STARTER CABLE 1 (+)
MAIN WIRE HARNESS
GROUND TERMINALS
STOPPER
POWER TILT RELAY
GROUND TERMINALS
STARTER CABLE GROUND
(BATTERY GROUND TERMINAL)
STOPPER

Table of Contents

Related product manuals