EasyManua.ls Logo

vc999 K7 - Page 38

vc999 K7
121 pages
Print Icon
To Next Page IconTo Next Page
To Next Page IconTo Next Page
To Previous Page IconTo Previous Page
To Previous Page IconTo Previous Page
Loading...
Vacuum Packaging Machine VC999 K7
Operation
Page 38/121 Art.-No. 592.016 2008-11-26
5. Place the intermediate rod (6) onto the bolts (2, 3) on the vacuum chamber bottom.
6. Place the sealing bar (1) onto the bolts of the intermediate rod (6).
Carry out the described procedure in reverse order to de-install the intermediate rod.
NOTICE
The pre-perforation hold-down clamp (4) should always be mounted onto the lowest installed
element (sealing bar or intermediate rod). It must be moved when adjusting the sealing height.
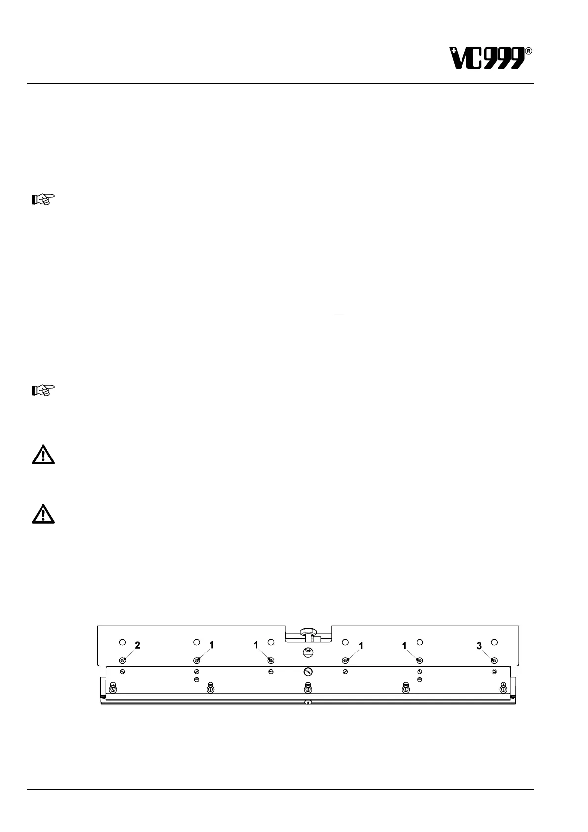
Moving the upper sealing bars
The upper sealing bar can (including the clamp and blade) be installed at 2 different heights. The follow-
ing figure displays the sealing bar in the lower position as seen from inside the vacuum chamber lid.
The sealing bar must be installed in this position if there is no
intermediate rod underneath the lower
sealing bar.
If the lower sealing bar has been installed on an intermediate rod, the upper sealing bar must be in-
stalled in the upper position.
NOTICE
Correct adjustment on all sides is monitored electronically and a message is displayed in the
event of a mistake in setting (Alarm messages 13, 14, 15 and 17).
CAUTION
Danger of injury from the blade. Take care with the blade when adjusting the sealing bars and
wear safety gloves to do this.
CAUTION
Please observe the weight!
The sealing bar, incl. the clamp and blade, weighs approx. 11 kg.
Procedure:
1. Always switch off the Vacuum Packaging Machine at the main switch and make sure it cannot be
switched on again.
Fig. 9/2
2. Use a size 6 hexagon socket wrench to unscrew the 4 screws (1).

Table of Contents

Related product manuals