EasyManua.ls Logo

Wren DRS5004 - DRS Configuration; Basic Configuration

Default Icon
112 pages
Print Icon
To Next Page IconTo Next Page
To Next Page IconTo Next Page
To Previous Page IconTo Previous Page
To Previous Page IconTo Previous Page
Loading...
Installation and Connection DRS5116
Wren
2003. 09. 06 (v 1.0)
26
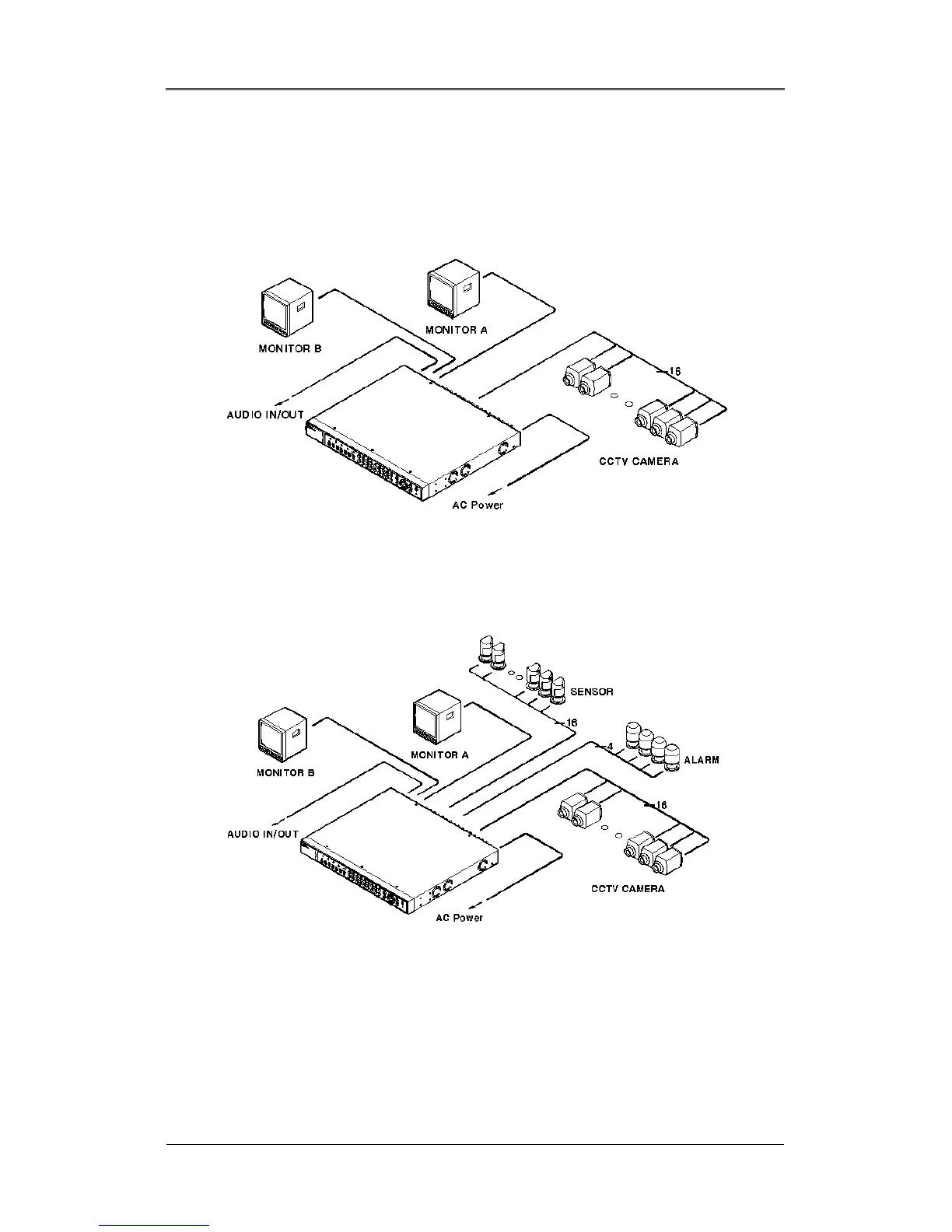
7. DRS Configuration
7.1. Basic Configuration
* Camera/Sensor/Rely/Monitor Quantities are Model Dependant *
7.2. Advanced Configuration

Table of Contents