EasyManua.ls Logo

YASKAWA MP2300 - Page 139

YASKAWA MP2300
267 pages
Print Icon
To Next Page IconTo Next Page
To Next Page IconTo Next Page
To Previous Page IconTo Previous Page
To Previous Page IconTo Previous Page
Loading...
4.4
Checking Sample Program Operation
4-65
4
System Startup and Sample Programs
P00122 H06.02
0028
NL-1
0010
0031
NL-1
0012
0034
NL-1
0013
0036
NL-1
0014
0038
NL-1
0015
0039
NL-1
0016
0040
NL-1
0017
0042
NL-1
0019
0030
NL-1
0011
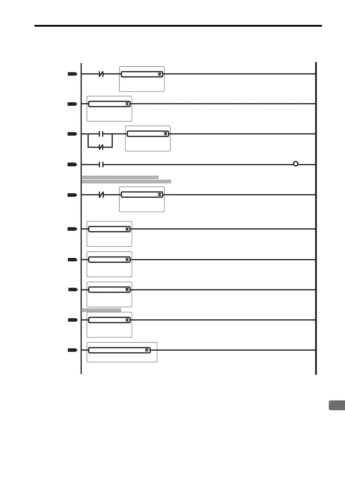
########## Slave Axis Control Circuit ##########
Addition of master axis increment
Cam operation command
MB300008
Operation command
DB000000
Operation command
DB000000
Zero speed
DB000003
DB00020A
DB000003
########## Electronic Cam Phase Generated ##########
0041
NL-1
0018
STORE
Axis 1 speed command setting
Source DF00040
Dest OL8010
STORE
Linear accelerator/decelerator input
Source 0.000000E+000
Dest DF00012
LAU
Linear accelerator/decelerator input
Parameter DA00020
Output DF00040
Input DF00012
STORE
Electronic cam phase
Source 00000
Dest DL00066
STORE
Master axis position FB (this scan)
Source IL8016
Dest DL00060
SUBX
Incremental value for master axis per scan
SourceA DL00060
Dest DL00064
SourceB DL00062
STORE
Master axis position FB (previous scan)
Source DL00060
Dest DL00062
ADDX
Electronic cam phase
SourceA DL00064
Dest DL00066
SourceB DL00066
EXPRESSION
Cycle detection
DB000008 = DL00066>=ML30202;
DB000009 = DL00066<0;
Main Program: Phase Control 2 (Electronic Cam)
Zero speed Zero speed

Table of Contents

Related product manuals