EasyManua.ls Logo

YASKAWA MP2300 - Page 141

YASKAWA MP2300
267 pages
Print Icon
To Next Page IconTo Next Page
To Next Page IconTo Next Page
To Previous Page IconTo Previous Page
To Previous Page IconTo Previous Page
Loading...
4.4
Checking Sample Program Operation
4-67
4
System Startup and Sample Programs
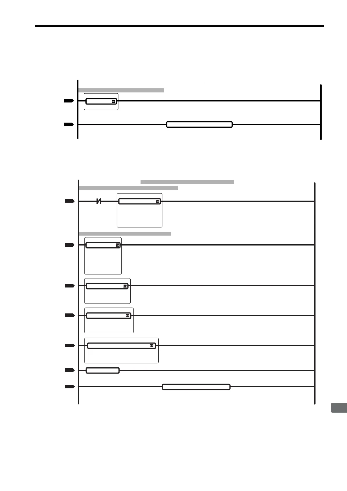
[ b ] L Drawing
The L parent drawing manages the low-speed scan that controls the overall sample program.
[ c ] L06 Drawing
The L06 child drawing creates cam pattern data for phase control (electronic cam).
########## ムテーブルデータ生  ##########
メインプログラム 低速メP00125 L
########## インプログラム  ##########
0000
NL-1
0000
0001
NL-1
0001
SEE
Name L06
END
Main Program: Low-speed Main Program
Low-speed Main Program
##########Electronic Cam Table Data Generation##########
Main Program: Electronic Cam Table Data GenerationP00126 L06
0000
NL-1
0000
Cam operation command
MB300008
##########Electronic Cam Table Data Generation##########
##########Cam Table Data Generation (Leading Data)##########
EXPRESSION
Cam table (leading data)
DL00010 =ML30200;
DL00012 =ML30202;
ML30210 =DL00010;
ML30212 =DL00012;
MW31000 =361;
0003
NL-1
0002
##########Cam Table Generation (following data)##########
0002
NL-1
0001
FOR
Cam displacement calculation
Variable I
Init 00000
Max 00360
Step 00001
STORE
Phase (deg.)
Source I
Dest DF00030
0004
NL-1
0003
COS
Displacement calculation work
Source DF00030
Dest DF00032
0005
NL-1
0004
EXPRESSION
Cam displacement calculation and table setting
J =I*4;
ML31002j =DF00030*DL00012/360.
DF00034 =DL00010/2*(1-DF00032)
ML31004j =DF00034;
0006
NL-1
0005
END_FOR
0007
NL-1
0006
END
MW31001 =0;
DF00030 =0;

Table of Contents

Related product manuals