EasyManua.ls Logo

YASKAWA OYMC V1000

YASKAWA OYMC V1000
408 pages
To Next Page IconTo Next Page
To Next Page IconTo Next Page
To Previous Page IconTo Previous Page
To Previous Page IconTo Previous Page
Loading...
1.7 H: Terminal Functions
170 YASKAWA ELECTRIC SIEP C710606 10A YASKAWA AC Drive - V1000 PRELIM. Programming Manual
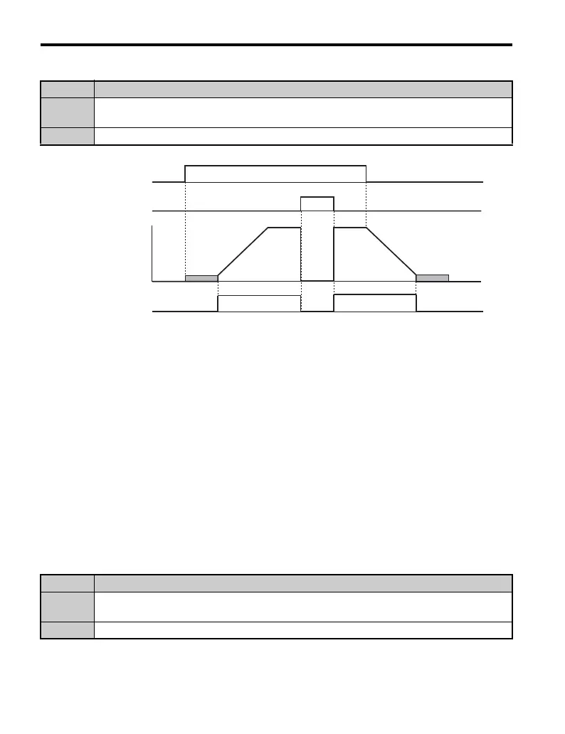
Figure 1.64
Figure 1.64 During Frequency Output Timechart
Setting 38: Drive Enabled
A Drive Enable digital output will reflect the status of a digital input configured as a Drive
Enable input (H1- = 6A). If the Drive Enable digital input is closed then the Drive
Enabled digital output will also close.
Setting 39: Watt Hour Pulse Output
Outputs a pulse to indicate the watt hours. Refer to H2-06: Watt Hour Output Unit
Selection on page 172 for details.
Setting 3C: LOCAL/REMOTE Status
Output terminal closes while the drive is set for LOCAL, and opens when in REMOTE.
Status Description
Open
Drive is stopped or one of the following functions is being performed: baseblock, DC
Injection Braking, Short-Circuit Braking
Closed Drive is outputting frequency
Status Description
Open
REMOTE: The selected external reference (b1-01/02 or b1-15/16) is used as frequency
reference and Run command source
Closed LOCAL: The digital operator is used as frequency reference and Run command source
ON
ON
OFF
OFF
ON
Run command
Baseblock
command
Output
frequency
During frequency
output
OFF

Table of Contents

Related product manuals