EasyManua.ls Logo

YASKAWA SGM-A3 - Page 138

YASKAWA SGM-A3
513 pages
Print Icon
To Next Page IconTo Next Page
To Next Page IconTo Next Page
To Previous Page IconTo Previous Page
To Previous Page IconTo Previous Page
Loading...
3.6 Minimizing Positioning Time
125
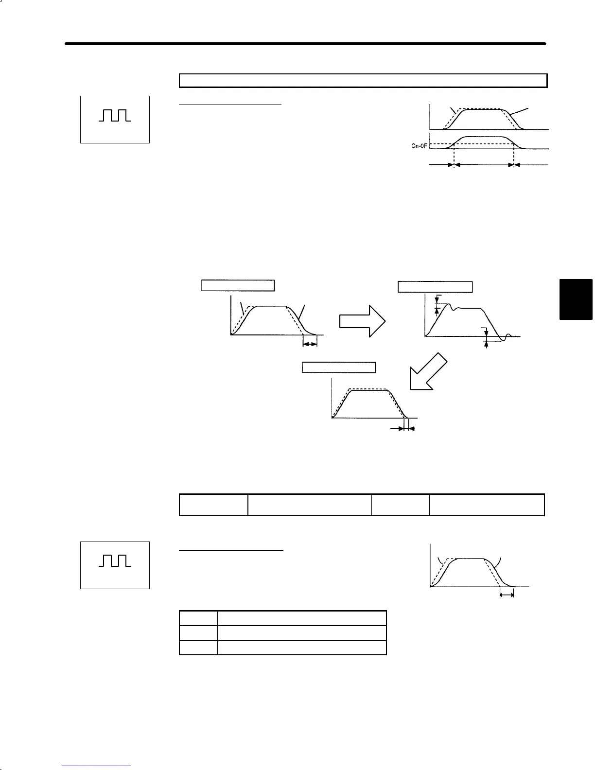
When Error Pulse Is Used as a Detection Point of Mode Switch
For position control only.
If an error pulse exceeds the value set in user
constant Cn-0F, the speed loop switches to P con-
trol.
Example of Use:
The mode switch is used to reduce settling time.
Generally, speed loop gain must be increased to reduce settling time. Using the
mode switch suppresses the occurrence of overshoot and undershoot when
speed loop gain is increased.
Without mode switch
Motor
speed
Speed reference
Motor speed
Settling time is long
Increase speed loop gain
Without mode switch
Motor
speed
Overshoot
Undershoot
Time
Motor speed
Suppress the occurrence
of overshoot and
undershoot.
With mode switch
Settling time
4) The user constants required to set each mode switch are summarized as follows.
Cn-01Bit B
Mode Switch ON/OFF Factory
Setting: 0
For Position Control Only
For position control only.
This user constant is used to enable or disable the
mode switch function.
Setting Meaning
0 Uses the mode switch function
1 Does not use the mode switch function
The Servopack allows use of four different types of mode switch. To select a mode switch,
set bits C and D of memory switch Cn-01.
For speed/torque control, bits C and D are used to enable or disable the mode switch
function.
3
Positions
Speed
Speed reference
Motor
speed
Error
pulse
PI control P control PI control
Positions
Speed
Reference
Actual
motor
operation
Time
Settling time
Mode switch is used to reduce settling
time and suppress undershoot when the
motor stops. It switches PI control to P
control when certain conditions are met.

Table of Contents

Related product manuals