EasyManua.ls Logo

YASKAWA SGM-A3 - Page 69

YASKAWA SGM-A3
513 pages
Print Icon
To Next Page IconTo Next Page
To Next Page IconTo Next Page
To Previous Page IconTo Previous Page
To Previous Page IconTo Previous Page
Loading...
APPLICATIONS OF Σ-SERIES PRODUCTS
3.1.2 Setting the Overtravel Limit Function cont.
56
Setting Meaning
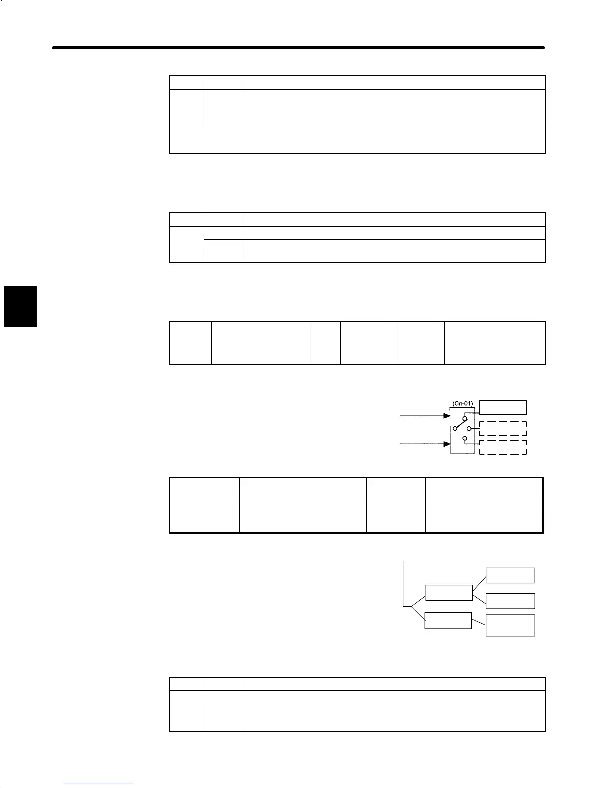
Cn-01
bit
8
0
Stops the motor in the same way as when the servo is turned OFF.
The motor is stopped by dynamic brake or coasts to a stop. Either of
these stop modes can be selected by setting bit 6 of Cn-01.
bit 8
1
Stops the motor by decelerating it with the preset torque.
Preset value: Cn-06 (EMGTRQ) emergency stop torque
If deceleration stop mode is selected, specify the operation to be done after the motor
stops.
Setting Meaning
Cn 01
0
Turns the servo OFF when the motor stops in deceleration stop mode.
Cn-01
bit 9
1
Causes the motor to enter zero-clamp status after it stops in deceleration
stop mode.
If torque control mode is selected, the motor stops in the same way as when the
servo is turned OFF, regardless of the setting of Cn-01 bit 8.
Cn-06
EMGTRQ
Emergency Stop
Torque
Unit:
%
Setting
Range: 0 to
Maximum
Torque
Factory
Setting:
Maximum
Torque
For Speed/Torque
Control and Position
Control
Specifies the stop torque to be applied at overtra-
vel when the input signal for prohibiting forward or
reverse rotation is to be used.
Specifies a torque value in terms of a percentage
of the rated torque.
Cn-01 Bit 6
How to Stop Motor at Servo
OFF
Factory
Setting: 0
For Speed/Torque Control
and Position Control
Cn-01 Bit 7
Operation to Be Performed
when Motor Stops after Servo
OFF
Factory
Setting: 1
For Speed/Torque Control
and Position Control
The Servopack enters servo OFF status when:
Servo ON input signal (S-ON, 1CN-40) is turned
OFF.
Servo alarm arises.
Main power is turned OFF.
Specify how to stop the motor when one of the
above events occurs during operation.
Setting Meaning
C01
0
Stops the motor by dynamic brake.
Cn-01
bit 6
1
Causes the motor to coast to a stop.
The motor power is OFF and stops due to machine friction.
3
Input signal for
prohibiting
forward rotation
P-OT (1CN-42)
Memory
switch
Input signal for
prohibiting reverse
rotation
N-OT (1CN-43)
Emergency
stop torque
Stop by
dynamic brake
Coasting to a
stop
Stop mode
After stop
Bit 6
0
1
Coasting to a
stop
Servo OFF
Releasing
dynamic brake
Stop by
dynamic brake
Holding
dynamic brake
0
1
Bit 7
Dynamic brake is a function that
electrically applies brakes by using a
resistor to consume motor rotation
energy.
Remains being
released
dynamic brake

Table of Contents

Related product manuals