EasyManua.ls Logo

YASKAWA SGM-A3 - Page 83

YASKAWA SGM-A3
513 pages
Print Icon
To Next Page IconTo Next Page
To Next Page IconTo Next Page
To Previous Page IconTo Previous Page
To Previous Page IconTo Previous Page
Loading...
APPLICATIONS OF Σ-SERIES PRODUCTS
3.2.2 Inputting Position Reference cont.
70
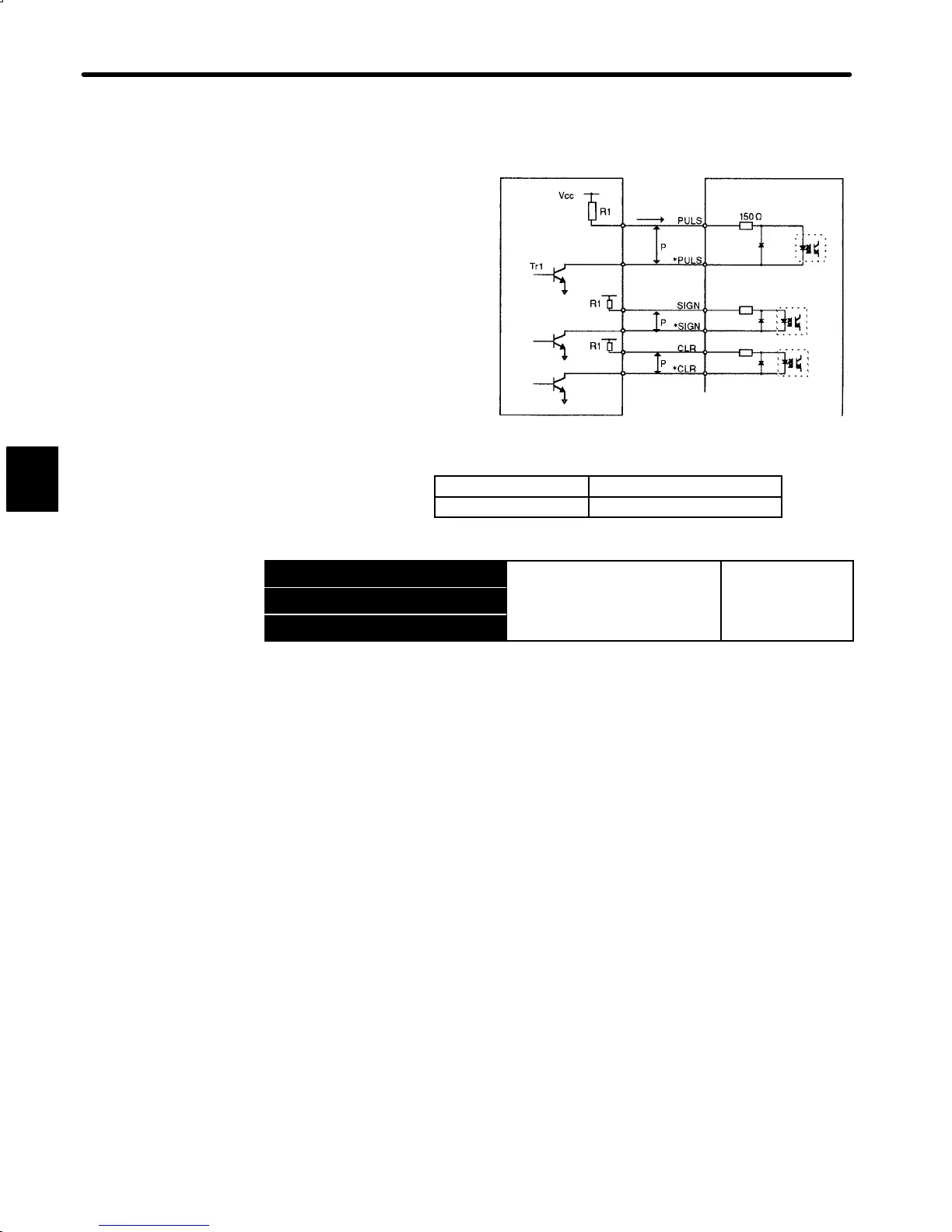
Connection Example 2: Open Collector Output
Sets the value of limiting re-
sistor R1 so that input cur-
rent i falls within the following
range:
Input Current i: 7 to 15 mA
Examples:
When Vcc is 12 V,
R1 = 1 k
When Vcc is 5 V,
R1 = 180
Note The signal logic for open collector output is as follows.
When Tr1 is ON Equivalent to high level input
When Tr1 is OFF Equivalent to low level input
Output PL1 1CN-3
Power for Open Collector
Reference
For Position
Control
Only
Output PL2 1CN-13
R
e
f
erence
C
on
t
ro
l
O
n
l
y
Output PL3 1CN-18
For details, refer to the Connection Example 3 (When Power for Open Collector Refer-
ence is Used) shown below:
3
Host controller Servopack
Photocoupler
P: Represents twisted-pair cables
i
1CN-7
1CN-8
1CN-11
1CN-12
1CN-15
1CN-14

Table of Contents

Related product manuals