EasyManua.ls Logo

ABB ACS880-107 Series

ABB ACS880-107 Series
202 pages
To Next Page IconTo Next Page
To Next Page IconTo Next Page
To Previous Page IconTo Previous Page
To Previous Page IconTo Previous Page
Loading...
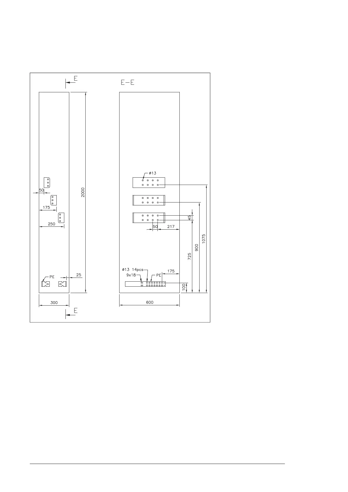
Units with common motor terminal cubicle (+H359)
Cubicle width 300 mm, bottom cable exit
Dimensions 245
Location and size of output terminals (units with common
motor terminal cubicle)
Note: See the dimension tables starting on page 203 as to which common motor terminal
cubicle width is used with which drive type.
Cubicle width 300 mm, bottom cable exit
176 Dimensions and weights

Table of Contents

Related product manuals