EasyManua.ls Logo

Agilent Technologies 35670A - To select a topic from the help index

Agilent Technologies 35670A
439 pages
Print Icon
To Next Page IconTo Next Page
To Next Page IconTo Next Page
To Previous Page IconTo Previous Page
To Previous Page IconTo Previous Page
Loading...
q
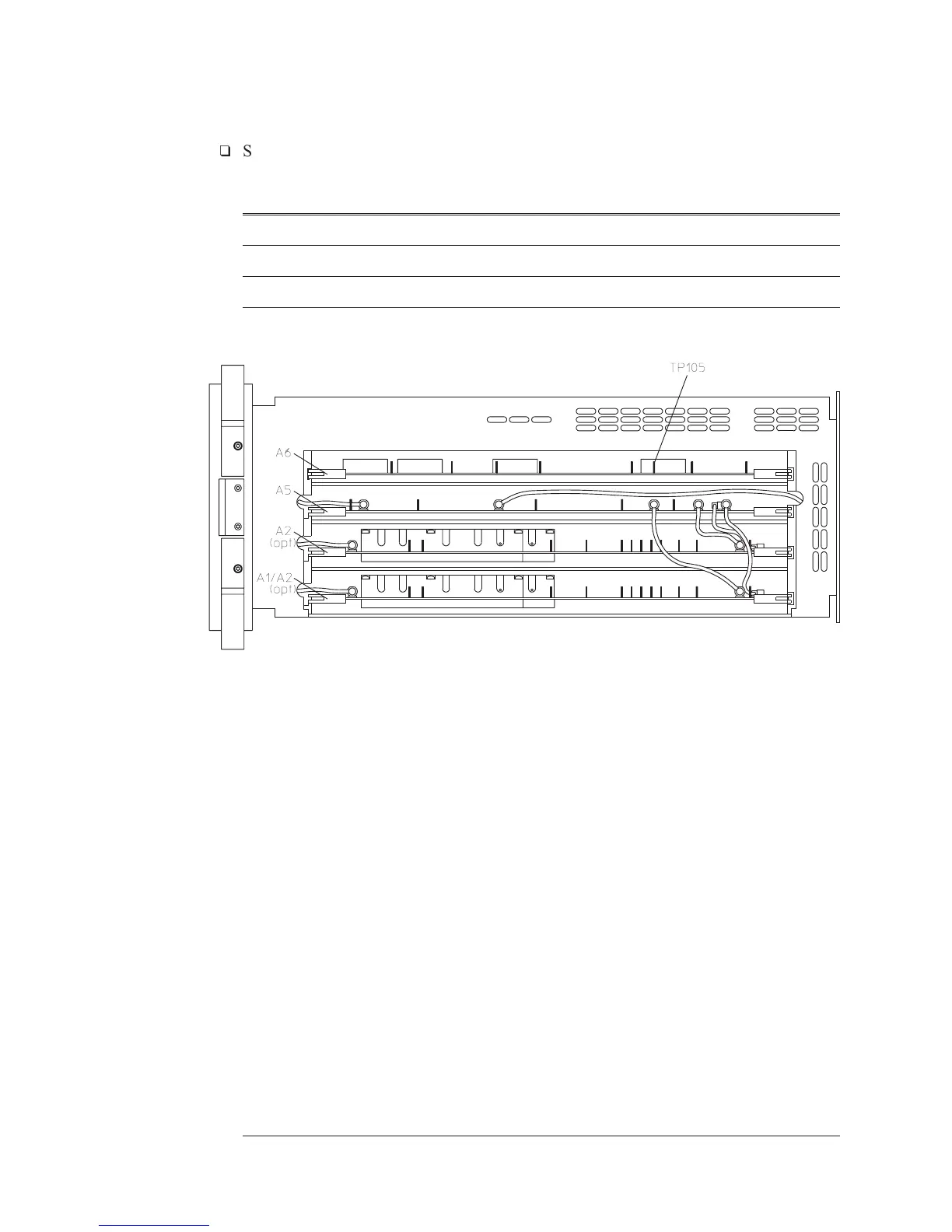
Step 6. Check the following TTL clock signals using an oscilloscope and a
1M
10:1 probe.
Signal Name Test Location Frequency Probable Faulty Assembly
FREQ REF A7 TP1 19.923 MHz A7 CPU
G20MHz A7 J3 pin 32C 19.923 MHz A7 CPU
VCLK A7 P2 pin 13 20 MHz A7 CPU
SYSCLK A6 TP105 10 MHz A6 Digital
Troubleshooting the Analyzer Agilent 35670A
To perform initial verification
4-8

Table of Contents

Other manuals for Agilent Technologies 35670A

Related product manuals